信息安全的解决方案目前主要集中于采取单一的措施来保证信息的安全性,针对各种攻击手段,防范措施主要集中于信息加密技术、安全交换机技术、防火墙技术、认证技术,入侵检测技术等,这些技术从不同的方面对安全性提供了较好的保障,但各有缺点和不足,这将成为网络防护的软肋,因此,本文也尝试性地提出了一种集数据加密技术和访问控制策略于一体的信息安全解决方案。
加密算法的硬件实现具有高速率、高可靠性、高安全等特点,因此,加密算法在FPGA平台中实现是一种很好的硬件实现方案。本文在xilinx公司的spartan-3e平台中构建一个嵌入式系统来实现安全网络通信。
系统设计
该系统主要针对信息传输过程中存在信息泄露、信息篡改、非法用户入侵等安全威胁而设计的一套基于FPGA平台的网络信息安全传输系统。该系统采用客户机/服务器模式,因此,系统主要包括两个部分:客户端和服务器端。客户端作为整个系统的控制中心,根据实际需要,向服务器端发送请求,并显示接收到的信息。服务器端响应客户端的请求,发送相应信息。服务器端和客户端之间的信息都是经过加密后进行传输的,保证信息的安全可靠性。
系统服务器端设计
服务器端采用XILINX公司的Spartan-3e开发平台,在该平台上构建基于MicrBlaze处理器和Xilkernel操作系统的嵌入式系统,在该系统中通过定制AES加密IP、键盘IP、LCD IP、通用扩展接口控制IP并添加EDK中自带的网络控制器IP、串口IP等,服务器端的系统结构框图如图1所示。当服务器端收到经过AES加密的请求IP数据包时,在服务器端,信息需要经过AES解密处理,根据解密后信息分析并提取请求方的ID信息和IP信息,客户端的ID信息是唯一的授权证号,根据客户端的ID信息,作出相应的处理。
安全通信系统的FPGA实现" src="//www.ninimall.com/files/images/20110525/93528a60-3adb-4452-9dd8-8a5a01408d84.jpg" />
图1 服务器端的系统结构框图
系统服务器端设计
客户端同样采用XILINX公司的Spartan-3e开发平台,但该系统中只需要定制AES加解密IP、键盘IP、LCD IP并添加EDK中自带的网络控制器IP,客户端的系统结构框图如图2-2图所示。客户端作为整个系统的控制中心,当需要采集信息时,客户端经md5算法形成自己的唯一授权ID,指令信息和ID信息经过AES加密后发送至服务器端,当服务器端响应其请求后,视其身份权限做出相应处理。

图2 客户端的系统结构框图
系统具体实现
该系统采用模块化设计实现,系统包括客户端和服务器端。系统客户端和服务器端的实现都是基于xilinx公司的spartan-3e平台来实现的。
系统服务器端实现
·AES算法的硬件实现
AES算法是一种迭代分组密码,采用的是代替/置换网络(SP)。AES加密算法的实现包括密钥扩展过程和加密过程。AES解密算法的实现包括密钥扩展过程和解密过程。解密过程与加密过程类似,是加密过程的逆运算,AES加解密过程如图3所示。

图3 AES加解密过程
AES加解密算法通过硬件描述语言来实现,在该系统中采用VHDL语言编写代码。根据AES加解密算法的相似性,很多电路模块可以共用,其占用资源可以尽可能的少。在该系统中采用密钥长度和分组数据块长度都为128bits,输入信息都为字符型的数据,采用对字符加解密,因此,每一个字符都将对应其ASCII值输入。AES加解密实现主要有4个模块:控制模块、AES加解密运算实现模、SBOX模块、密钥操作模块,实现的框图如图3-2图所示。
AES加解密模块的实现经过ISE 综合后占用资源利用情况如表1所示。
表1 AES加解密资源利用表


图4 AES加解密实现框图
·接口模块的实现
服务器端采用Spartan-3e平台扩展了PS2接口、16X2的LCD液晶显示,3个6针的通用扩展接口,这些接口方便了外设的连接和扩展。键盘在该系统中实现了单向通信,扩展接口模块通过平台通用扩展接口J1、J2、J3与外接设备进行信息交互。Spartan-3e平台通过串口DTE和GSM模块进行通信,将相应的信息通过短信的方式发送到指定手机中。
各个接口模块通过EDK添加自定义IP的方式添加到OPB总线中,其中键盘、LCD、串口DTE使用中断。驱动程序在自动生成的驱动程序模板基础上完成各个模块的驱动程序。
·网络安全检测及报警实现
服务器端通过添加EDK中网络控制器IP核,移植LwIP网络协议栈,实现基于SOCKET的网络通信。服务器端收到客户端请求时,对接收到的IP数据包进行解密,对请求的IP数据包进行分析,提取对应的ID信息和IP信息,由于该ID信息是经过md5算法产生的,因此该ID作为授权客户的唯一ID,根据ID信息与授权的ID列表进行比较,若为授权ID,则根据客户请求把相应的信息加密处理后发送至客户端;若为非授权ID,则说明该网络已存在非授权ID用户,此网络已经存在不安全性,则把提取的IP信息通过GSM网络发送至指定接收端手机,达到网络的实时检测和报警功能。
·服务器端软件实现
服务器端构建基于MicroBlaze处理器和Xilkernel操作系统的嵌入式系统,通过扩展PS2键盘,LCD液晶显示屏等设备,实现具有良好的人机交互接口的系统。Xilkernel操作系统支持多线程操作,通过配置一些参数就可以灵活应用。虽然其没有网络系统,但可以通过移植LwIP协议栈就可以实现基于SOCKET的网络通信。
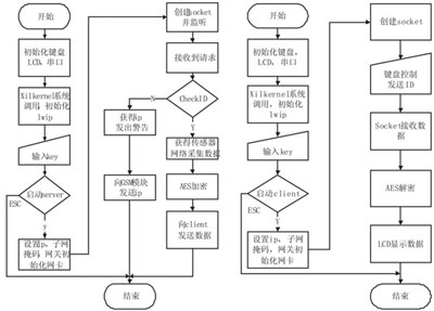
应用程序的设计主要包括系统的初始化、系统对客户端请求的处理、网络安全监测及报警等。系统的初始化主要针对外设的初始化,LCD初始化工作:允许中断函数microblaze_enable_interrupts(),初始化函数LCD INIT_LCD(),PS2 键盘初始化:初始化键盘函数init_kbd(),允许中断函数enable_interrupt(),系统调用xilkernel_main()进入xilkernel,创建socket_thread。初始化lwip,并创建socket_app_thread。该线程主要是针对网络参数设定,通过IP4_ADDR()函数设定ip、网关、子网掩码。
当系统运行时,液晶显示相关信息,当出现等待键盘输入密钥时,输入16个字符密钥,同时对密钥进行密钥确认。系统调用socket()函数创建socket,调用listen()函数开始监听。
一旦接收到用户请求时就创建socket_process_thread线程。在socket_process_thread线程中,提取IP数据包的相关信息,首先检查客户端发送的ID是否在授权ID列表之内,如果ID无误,将从无线模块接收到的数据进行AES加密,发送加密过后的数据给客户端。如果ID有错误,提取其收到IP数据包中的IP,并启用GSM模块,将提得的IP通过短信发送给指定接收端。
整个服务器端的软件设计流程图如图5图所示。

图5 服务器端软件流程图
系统客户端实现
客户端的系统构建与服务器端相似,系统的原理可以参考服务器端的系统设计。应用程序的设计也包括系统的初始化,客户请求的处理及解密处理,服务器端返回的信息处理。初始化外设,LCD初始化:允许中断函数microblaze_enable_interrupts(),初始化LCD函数INIT_LCD(),PS2 键盘初始化:初始化键盘函数init_kbd(),允许中断函数enable_interrupt()。系统调用xilkernel_main()进入xilkernel,创建socket_thread。液晶显示等待键盘输入密钥,输入密钥后需再次确认密钥,确认成功后启动客户端。初始化LwIP,并创建socket_app_thread。配置网络参数,通过IP4_ADDR()函数设定ip、网关、子网掩码。等待用户按键,提出所要数据申请。调用socket()函数创建socket,连接server,发送经过md5加密后的授权ID,等待server响应。.当接收到server返回的数据时,调用AES解密模块进行解密。在LCD上显示数据,并等待用户再次提出所要数据申请。客户端软件流程图如图3-4图所示。
结论
该系统采用FPGA平台构建基于Microblaze软核和Xilkernel操作系统的嵌入式系统。本文主要对下述内容进行了论述和自主开发:
1.AES加解密算法的原理介绍及基于FPGA的硬件自主实现。
2.构建基于Microblaze软核和Xilkernel操作系统的嵌入式系统,自定制外设接口IP。
3.网络安全检测的实现及通过GSM网络报警机制的设计与实现。
经过单元测试和整体评测,各模块独立运行功能良好,均达到系统设计要求。系统整体测试运行平稳,可靠性强。完全可以达到实际应用的性能及技术要求。
作者:孙建国 武俊鹏 申国伟 朱振光 哈尔滨工程大学 来源:与非网
