0 引言
LED技术及其应用的发展超过几年前业界的预期, 目前LED已经开始步入普通照明领域。在中国大陆的LED公共照明方面, LED 路灯和公路隧道灯的应用走在世界的前列。从全球的情况来看, LED 普通照明驱动电路要采用工频市电电源供电(即离线式驱动电路)。就其拓扑结构而言, 主要是隔离型反激式转换器开关电源方案。对于200W 以上的LED 路灯, 则选择双电感单电容( LLC )半桥谐振拓扑。在100W 以下的LED 照明驱动电源中, 单级PFC 反激式电路拓扑是最佳解决方案。德州仪器( TI)公司推出的UCC28810普通照明电源控制器, 不仅支持单级PFC 反激式变换器和Triac 调光, 同时还支持两级PFC 电源拓扑。
1 UCC28810引脚功能和特点
1. 1 UCC28810封装与引脚功能
UCC28810采用8引脚SO IC 封装, 引脚排列如图1所示。

图1 UCC28810引脚排列
为了正确应用UCC28810, 必须了解其各个引脚功能, 见表1。
表1 UCC28810引脚功能

1. 2 UCC28810的主要特点
UCC28810是一种单级PFC 离线式LED 照明电源控制器, 可以控制临界导通模式( C rM ) 操作的反激、降压( buck)或升压( boost)变换器, 能够与传统墙上调光器接口。UCC28810含有一个用于反馈误差处理的跨导电压放大器、一个用来产生与输入电压成正比的电流指令的电流参考发生器、一个电流传感比较器、PWM 逻辑及驱动外部功率MOSFET 的驱动器。
UCC28810提供过电压保护( OVP)、反馈开路保护和使能( enable)电路。
UCC28810的VDD导通门限电压是15. 6 V, 欠压关断门限电平是9. 7 V, 钳位电压为19 V, 静态工作电流为4mA。
UCC28810用于控制LED 普通照明驱动电源, 应用领域有工业照明、商业照明、住宅照明以及街道、道路、停车场照明和建筑与装饰照明。
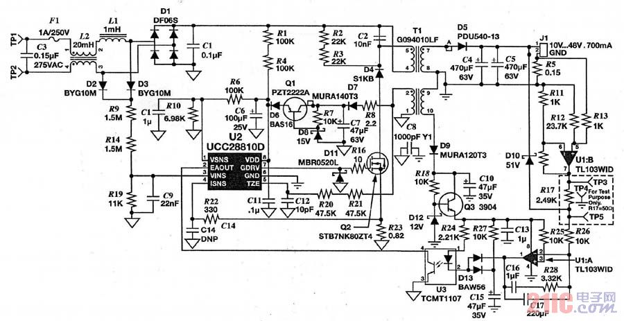
2 基于UCC28810的34W单级PFC反激式LED恒流驱动电源
基于UCC28810的34W 单级PFC反激式LED 恒流驱动电源电路如图2所示。这种带PFC 的隔离型单级反激式离线LED 驱动电路的AC 输入电压范围为180~ 265 V, 输出DC 电压为10 ~ 48 V, 输出恒流为700mA, 可以驱动3~ 13个串联连接的LED, 最大输出功率为34 W , 效率达90%, 线路功率因数PF> 0. 9。

图2 基于UCC28810的34W 单级PFC反激式LED恒流驱动电源
在图2中, 输入端F1 为保险丝, L 1、L 2和C 3、C 1为输入EM I滤波器, D1 是桥式整流器, D2、D3、R 9、R 14、R 19、C 9组成输入电压检测电路, R 1和R 4是U2(UCC28810D) 引脚VDD 上的启动电阻, R 8、D7、C 7、D 8、R 7、Q1和D6、C6等组成U 2(引脚VDD )偏置稳压电源电路, Q 2为初级功率开关, 变压器初级绕组( T1的引脚④与⑤之间)上并接的R 2、R 3、C 2、D4组成Q2漏极上RCD 型钳位电路, Q2源极上串联的R 23为初级电流传感电阻, T1偏置绕组(① 与② 端)同时提供变压器零能量( TZE )检测信号(经R 21、R 20、C 12传送至U2的TZE 引脚)。
D5、C 4 和C 5组成次级整流滤波电路。R 5 为输出电流传感电阻, U1(U1B+ U1A )作为电流感测放大器使用, 执行输出恒流调节。U 3为光电耦合器, 对次级到初级的反馈起隔离作用。T1次级引脚⑨与⑩之间的绕组及D9、R 18、D12、Q3和C 10等组成次级偏置稳压器, 为U 1和U 3提供偏置。D10用作输出开路钳位( 51 V )保护。
U2通过引脚V INS对AC 输入电压的检测, 可以强制峰值开关电流跟踪输入电压的变化, 从而提高系统功率因数。
3 采用UCC28810的240W LED路灯驱动电源
UCC28810不但具有单级PFC 反激式变换器控制功能, 同时支持独立PFC升压变换器架构。图3为采用UCC28810的240W LED 路灯驱动电源系统。该系统主要有三级: 在桥式整流器之后是基于UCC28810的PFC升压跟随器级; 第二极是基于UCC28811的恒流降压( Buck)级, 它与PFC 级一样, 工作在临界导通模式( C rM ) ; 第三级为隔离级, 为半桥谐振LLC 转换器, 用TPS92020作为驱动器IC。

图3 采用UCC28810的240W LED路灯驱动电源系统
图3所示的隔离型离线式LED驱动器的技术规格见表2。
表2 设计技术指标

半桥谐振LLC转换器可以采用多变压器配置, 如图4所示。图中所示的串联输入多并联LED 驱动方案, 有利于散热管理, 无需反馈, 成为LED 照明模块的一种重要驱动方案。

图4 多变压器配置
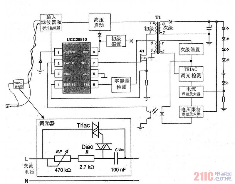
4 采用UCC28810的Triac调光LED照明电源
对于LED 普通照明来说, 传统三端双向可控硅( Triac)调光方式被普遍看好, 这是因为Triac调光器电路简单, 成本低廉, 当用LED 灯具替代白炽灯时, 可以使用白炽灯墙上Triac调光器对LED进行调光。图5为基于UCC28810的Triac 调光LED 照明电源系统框图。

图5 基于UCC28810的Triac调光LED 照明电源系统框图
白炽灯是一种电阻性负载, 而LED驱动电源与白炽灯的情况完全不同, 因此使用传统T riac相控调光器对LED 进行调光, 必须相应附加专门的电路, 对Triac调光状态进行检测, 以保证在AC 线路半周期的Triac导通角内为T riac提供必要的维持电流( IH ) , 当AC线路电压过零时确保T riac关断。
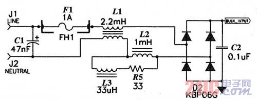
图6 为Tr iac 调光25W LED 照明电源的输入EM I滤波器电路。L 1、L 2和C 1、C 2 组成的共模和差模LC输入EM I滤波器, 是为满足EM I规范要求而设置的。当T riac 调光器被应用时, 为防止在Triac 与LC滤波器之间产生振荡, 在电感器L2两端连接了一个由L3和R 5串联而成的阻尼网络。

图6 输入EM I滤波器及阻尼网络
基于图5所示架构的实际25W Triac调光LED照明用电源, AC 输入电压范围达85~ 305 V, 线路功率因数> 0. 9, 输出DC 电压约为36 V, 输出恒流为700 mA, 可以10 个串联在一起的C ree XLamp7090XRE白光LED, 系统效率达89% .
5 小结
UCC28810型LED 普通照明电源控制器, 支持单级PFC 反激式变换器电路拓扑和传统Triac相位控制调光器调光。目前此类IC 还有很多, 如TPS92210等。LED 调光有PWM调光、模拟电压调光和Triac等多种方式。对于LED 普通照明应用来说, T riac 调光方案被人们普通看好。
