智能微电网" title="智能微电网">智能微电网是一种由负荷和微电源共同组成的系统。它可同时提供电能和热量。微电网内部的电源主要由电力电子器件负责能量的转换,并提供必要的控制。微电网相对于大电网表现为单一的受控单元,并可同时满足用户对电能质量和供电安全方面的需求。当微电网与主网因为故障突然解列时,微电网还能够维持对自身内部的电能供应,直到故障排除。
众所周知,微电网是智能电网中配电系统和用电系统的重要组成部分,是配电网系统中新的网络结构,是推动智能电网的发展的最重要的领域。近年来,由于分布式能源资源(DER[1])的数量增加提高,以及与各种资源的通信变得更加普及,配电网作为孤岛或微电网分片运行成为现实。目前,微电网对电力公司现有的挑战,来自保护、控制和调度等方面。
从我国所申请的专利看来,该领域的技术主要集中在微电网的控制系统和微电网的结构,其中较为典型的有:
上海交通大学申请的发明专利“基于多代理技术的微电网协调控制系统”提出了一种信息技术领域的基于多代理技术的微电网协调控制系统。该发明的元件代理模块独立控制微网中各底层元件运行,实现直接的分布式能源的控制、发电控制、储能元件的控制和一些负荷的控制;微电网代理模块针对微电网内部的调度运行,对代理进行管理;微电网代理模块与上级电网代理模块之间通过通讯协调解决各代理之间的任务划分和共享资源的分配,上级电网代理模块负责电力市场以及各代理间的协调调度,并综合微电网代理信息做出重大决策。各代理模块之间还保持一定量的数据通讯以更好的保证各自决策的合理性。此种结构与通信方式适应了微电网分布、复杂、灵活的特性。可以提高微电网的安全稳定运行及发电效率。

图1:元件代理功能示意图
电子科技大学申请的发明专利“微电网能量智能控制系统”提出了一种包含多种分布式电源的微型供用电系统。它是能够利用预测信息对微电网进行控制的智能能量控制系统。控制系统包括微电网系统和控制系统;所述微电网系统包括电源单元、储能单元和负荷单元;所述控制系统包括信息采集系统和中央处理单元。中央处理单元包括:负荷预测模块;微电网在线状态估计模块;间歇式电源能量预测、储能单元能量预测模块;微电网系统分析模块;微电网多目标优化运行和综合协调控制模块。该微电网能量智能控制系统,能够根据预测信息对微电网进行控制,实现微电网的智能化运行。

图2:控制系统工作原理示意图
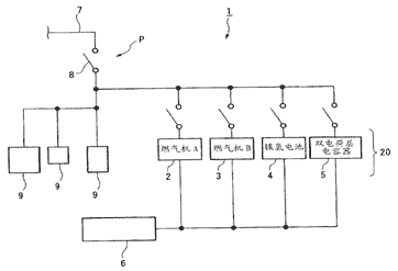
清水建设株式会社和东京大学申请的发明专利“微电网系统的构筑方法”提出了一种微电网系统的构筑方法,用于构筑将包含多种类电源的分布式电源统一地控制运用的网络,而对特定区域供给电力,该方法包括:测量所述特定区域的负荷变动,从而对所述负荷变动的数据进行频率分析的步骤;基于所述多种类电源的各自的频率响应特性而决定所述多种类电源的各个电源分别担负的分担频率,并基于所述分担频率而将负荷变动的频率分析结果分配给所述多种类电源的各个电源,以求对所述多种类电源要求的容量的步骤。

图3:微电网系统的概略结构图
1.微电网系统;2.燃气机(gas engine)A(电源);3.燃气机B(电源);4.镍氢电池(电源);5.双电荷层电容器(电源);6.控制部件;7.商用系统;8.设置开关;9.负荷;20.各个分布式电源
