20世纪80年代,DCS(数字式分散控制系统)开始进入电站自动化控制领域,由于其在安全生产与经济效益等方面带来的正面作用是以往任何一种控制系统无法与其相提并论的,因此,DCS在电站被广泛使用。
目前300MW以上机组,无论是国产机组还是引进机组,无一例外采用DCS,就连200MW、100MW机组也在使用DCS来进行改造,甚至于一些自备电厂的25MW、12MW的火电机组也采用DCS系统。
那么,作为20世纪90年代才走向实用化的,在自动化领域内最为新型的控制系统——现场总线控制系统(fieldbus control system,FCS),能否也像DCS系统一样被电站接受并广为推广使用?
1 FCS与DCS相比较最显著的特点
根据国际电工委员会IEC1158定义:安装在制造或过程区域的现场装置与控制室内的自动控制装置之间的数字式、串行、多点通信的数据总线称为现场总线。
以现场总线为基础的全数字控制系统称为现场总线控制系统FCS。即:现场总线是用于现场仪表与控制室系统之间的一种开放、全数字化、双向通信与多站的通信系统。
DCS与FCS的具体比较如下:
(1) DCS系统是个大系统,其控制器功能强而且在系统中的作用十分重要,数据公路更是系统的关键,所以必须整体投资一步到位,事后扩容难度较大。而FCS功能下放较彻底,信息处理现场化,广泛采用的数字智能现场装置使得控制器功能与重要性相对减弱。因此,FCS系统投资起点低,可以边用、边扩、边投运。
(2) DCS系统是封闭式系统,各公司产品基本互不兼容。而FCS系统是开放式系统,用户可以选择不同厂商、不同品牌的各种设备连入现场总线,达到最佳的系统集成。
(3) DCS系统的信息全都是二进制或模拟信号形成的,必须有D/A与A/D转换。而FCS系统是全数字化,免去了D/A与A/D变换,高集成化高性能,使精度可以从±0.5%提高到±0.1%。
(4) FCS系统可以将PID闭环控制功能装入变送器或执行器中,缩短了控制周期,目前可以从DCS的2~5次/s,提高到FCS的10~20次/s,从而改善调节性能。
(5) DCS系统可以控制和监视工艺全过程,对自身进行诊断、维护和组态。但是,由于其自身的致命弱点,其I/O信号采用传统的模拟量信号,无法在DCS工程师站上对现场仪表(含变送器、执行器等)进行远方诊断、维护和组态。FCS系统采用全数字化技术,数字智能现场装置发送多变量信息,而不仅仅是单变量信息,并且还具备检测信息差错的功能。FCS系统采用双向数字通信现场总线信号制。因此,它可以对现场装置(含变送器、执行器等)进行远方诊断、维护和组态。FCS系统这点优越性是DCS系统无法比拟的。
(6) FCS系统由于信息处理现场化,与DCS系统相比,可以省去相当数量的隔离器、端子柜、I/O终端、I/O卡件、I/O文件及I/O柜,同时也节省了I/O装置及装置室的空间与占地面积,有专家认为可以节省60%。
(7)与(6)同样的理由,FCS系统可以减少大量电缆与敷设电缆用的桥架等,同时也节省了设计、安装和维护费用,有专家认为可以节省66%。
对于(6)、(7)两点应补充说明的是,采用FCS系统,节省投资的效果是勿庸置疑的,但是否如有的专家所说达60%~66%,尚有待给出客观评价,尽管这些数字在多篇文章中出现,笔者认为这是相互转摘的结果,目前还未找到这些数字的原始出处。因此,读者在引用这些数字时要慎重。
(8) FCS相对于DCS组态简单,由于结构、性能标准化,便于安装、运行、维护。
(9) 用于过程控制的FCS设计开发要点。这一点并不作为DCS的比较,只是说明用于过程控制或者用于模拟连续过程类的FCS在设计开发中应重点考虑的问题。
1) 要求总线本安防爆功能,而且是头等重要的。
2) 基本监控如流量、料位、温度、压力等的变化是缓慢的,而且还有滞后效应,因此,节点监控并不需要很快的电子学的响应时间,但要求有复杂的模拟量处理能力。这一物理特征决定了系统基本上多采用主-从之间的集中轮询制,这在技术上是合理的,在经济上是有利的。
3) 流量、料位、温度、压力等参数的测量,其物理原理是古典的,但传感器、变送器及控制器应向数字智能化发展。
4) 作为针对连续过程类及其仪器仪表而开发的FCS系统,应侧重于低速总线H1的设计完善。
2 FCS在火电厂的实际应用
现场总线控制系统FCS是一个新型的控制系统,进入我国的时间还不算长,目前在火电厂的应用还处于局部领域使用的阶段。

例1:Cegelec Alspa P320系统(见图1)应用于我国华能珞璜电厂(4×360MW)二期工程(2×360MW)机组的自动控制。该系统有31个双冗余WorldFIP网络,16个监视和控制站,32台冗余PLC,处理18000I/O点,50000点控制数据。该系统采用双绞线媒体,操作站冗余并有后备站,系统典型的响应时间为50ms。
华能珞璜电厂二期工程是从法国GEC ALSTOM集团全套引进的2×360MW燃煤发电机组。锅炉由STEIN公司提供,汽轮机由STG公司提供,发电机由STG公司提供。已于1998年底全部投运发电
控制系统是法国CEGELCE公司提供的、20世纪90年代中期开发推出的ALSPA P320控制系统。实现了机组的数据采集系统(DAS)、闭环控制系统(MCS)、顺序控制系统(SCS)与燃烧器管理系统(BMS)等主要功能。汽轮机数字电液控制系统(DEH)采用法国GEC ALSTOM STG公司提供的MICROREC控制系统。
ALSPA P320控制系统各部分通过标准网络来相互通信,与其他控制部件可以方便地进行通信。ALSPA P320有三大网络:
LOCAFIP现场总线网络(WorldFIP),采用FIP标准(UTEC64+601607),用于链接输入输出模板到P320的C370控制器。
F900数据总线(WordlFIP),用于C370控制器之间的数据交换和C370控制器与CENTRALOG通信。F900是一种快速的数据传输网络,基于IEEE的FIP标准(UTEC64+601607)的工业局域网。
CONTRONET控制网使用以太网技术,用于集中控制层CENTRALOG数据库与操作员工作站之间的数据交换。CONTRONET遵照IEEE803.3局域网标准。
通过INTERENT标准协议,P320可进行长距离通信,进行远程维护和大型电网控制。
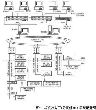
例2:陕西省杨凌燃机热电厂位于陕西省杨凌农业高新技术开发区内,采用德国Siemens公司生产的遵循Profibus现场总线协议的Simatic PCS7控制系统作为机、炉、电的集中控制系统。
系统配置图如图2所示。

该系统共配置3对冗余CPU-41H控制器。每一对冗余控制器均通过冗余的现场总线Profibus-DP(最新数据传输速率可达12Mbit/s)带一定数量的远程I/O扩展机架ET200M及I/O模件。由远程I/O扩展机架和模件组成的远程I/O站均放置于现场附近,通过Profibus-DP总线与放置在主控楼的冗余控制器通信。
该系统共配置32个ET200M远程机架,按工艺流程分成8个远程I/O站,放置在全厂8个不同位置,最远的一个远程I/O站——深井泵房远程I/O站距主厂区3.4km左右,其他的远程I/O站间距离在200m以内。控制器与各远程I/O站间的通信是通过Profibus-DP现场总线完成的,主厂区内Profibus-DP现场总线传输介质为双绞线,深井泵房远程I/O站与主厂区间的数据通信采用光纤作为传输介质,两端通过光电转换接口,与Profibus-DP现场总线相接。
由于使用了Profibus-DP现场总线技术,现场布置I/O机柜,实现了对燃机外围设备、余热锅炉、汽机辅机、循环水泵房、综合水泵房、深井泵房、厂用电气系统、110kV升压站等系统与主控环的服务器进行双向数据交换,实现了全厂各系统的集中监控。自动系统投入率达到100%,2001年8月系统投入商业运营。
例3:四川广安电厂,采用遵循Profibus现场总线协议的L2-DP网络技术,成功地将锅炉补给水控制系统与凝结水精处理控制系统控制等辅助车间控制系统联网,提高了火电厂辅助车间控制的劳动生产率及系统可靠性。
3 FCS在火电厂局部应用效果
首先明确FCS的3个关键要点:
(1) 核心:FCS系统的核心是总线协议,即总线标准。也就是说,只有遵循现场总线协议的控制系统,才能称为现场总线控制系统。
(2) 基础:FCS系统的基础是数字智能现场装置。数字智能现场装置是FCS系统的硬件支撑。
(3) 本质:FCS系统的本质是信息处理现场化。这是FCS系统效能的体现。
再来分析前面提到的火电厂应用FCS的几个例子。
在例1中,华能珞璜电厂的ALSPA 320控制系统,它的Loca Fip网络与F900网络均遵循WorldFip现场总线的总线协议,CONTRONET控制网采用以太网技术。这是一个非常典型的现场总线体系结构。
在例2中,杨凌燃机热电厂的Simaeic PCS7控制系统,控制器与各远程I/O间的通信是通过Profibus-DP现场总线来完成。控制器与控制器之间、控制器与服务器之间的数据通信是通过冗余的环型工业以太网来完成。
上述两例子中,在通信网络方面均遵循现场总线协议,即都含有做为现场总线控制系统的核心部分,但另一个共同特点是都没有采用数字智能现场装置,仍采用模拟量的测量元件和执行机构,不具备现场控制功能。失去了现场总线控制系统的硬件支撑,信息处理现场化就不能实现,也就是说现场总线的突出特点——降低系统投资成本、减少运行费用和提高运行和管理水平等,未能充分发挥出来。
例3则是目前现场总线在火电厂局部应用中的一个成功典型。
4 FCS在火电厂的应用前景
(1) 现场总线控制系统是目前最新型的控制系统,它是一种全计算机、全数字、双向通信的新型控制系统。现场总线技术给自动化领域带来了一场革命,代表了自动化的发展方向。数字通信是一种趋势,也是技术发展的必然。从理论上讲,双向数字通信现场总线信号制技术必将会给火电厂安全经济运行及提高管理水平带来实实在在的效益。这是过去在电站中使用过的任何控制系统所无法与之相比拟的。
(2) 作为现场总线控制系统的核心部分——总线协议,已经在火电厂控制系统的通信网络中成功运行,这不仅消除了人们以前存有的许多疑团,也为现场总线控制系统在火电厂推广应用打下了良好的基础。
(3) 现场总线控制系统,在以顺序控制为主,以PLC(可编程逻辑控制器)为硬件的火电厂辅助车间控制系统联网控制中,可以发挥最大效益(见例3)。PLC作为一个站挂在高速总线上,充分发挥PLC在处理开关量方向的优势。现场总线在该领域的应用已经取得成功,这将是今后一段时间内火电厂辅助车间适度集中控制方针得以实现的一种优选方案。
(4) 由于目前能满足火电厂控制要求的数字式智能现场装置的品种还很少,理论上的现场总线效益还不能充分发挥。因此,在大型机组上全面采用典型的现场总线控制系统的时机尚未成熟。
(5) 目前,像例1、例2的控制系统不失是一种向FCS过渡性的控制系统,它既保留了DCS系统中功能很强的控制器及I/O模件,同时在通信网络又遵循现场总线协议。我们将该系统称之为在通信和数据传输方向遵循现场总线协议的数字式分散控制系统,暂称该系统为FDCS。
5 参考文献
[1] 周明.现场总线控制. 北京:中国电力出版社,2002.
