该系统利用GSM远程通信系统控制车内空调等器械运作。用户通过短信形式达到人机互动,克服红外线、无线等远程控制距离短的问题,还可以实现实时监控汽车的状态,为车主提供便利。
1系统原理与结构
1.1系统功能介绍
本系统能以10次/s的速度自动采集现场的环境温度和光照强度、采集空调和窗帘的开闭状态,并通过LCD液晶屏实时地显示出来。温度的感应范围-55~+125℃,精度为±0.5℃。光强的强度范围分为强、较强、中、较弱、弱5档。空调和窗帘的状态为开或者关。
用户可以通过手机或者小灵通等终端与GSM模块连接的系统之间进行无线通信,通信范围为移动网络覆盖的所有范围,做到了真正的通信范围无穷大。具体的通信为:
1)当系统检测到温度和光强超过设定的标准值时,会自动的发送超标的中文提示短信至用户的手机。
2)用户可以向系统发送中文短信,实时的查询车内的温度、光强、空调、窗帘的情况。
3)用户可以发送控制信号控制车内的3种动作:①拉上窗帘和拉开窗帘。拉窗帘是由单片机给予高电平给LG9110,驱动马达,通过马达正转和反转来实现拉上窗帘和拉开窗帘的动作。②启动空调和停止空调。通过单片机给予LG9110高电平,驱动直流电机上的扇叶,以此来模拟汽车空调启动和停止。③启动发动机和停止。发动机用电动马达模拟,通过单片机控制其转动和停止模拟汽车发动机启动与关闭。
1.2系统方案
本设计硬件电路包括电源模块、控制模块、温度模块、光强模块、显示模块、电机驱动模块和GSM通信模块等7部分组成。各模块之间的关系如图1所示。

1.2.1主控系统模块
主控系统模块采用宏晶科技生产的基于51内核的STC89C516RD+单片机来完成信号采集、控制和通信功能,它有64K的片内FLASHROM和1280B的片内RAM资源,并具有51的内核,加密性很强,采用ISP下载的方式简单易用,且存储容量较大,很适合于做开发设计使用。
在本设计中STC89C516RD+单片机担当了控制核心,首先通过前向通道对外部的各种感应器进行数据采集,然后通过各输入模块不同的自适应算法将其与内部参考数据进行分析与比对,再通过GSM/CDMA网络向汽车用户发送警示短信,汽车用户也可以通过GSM/CDMA网络向系统发送查询与控制的各种信息。
1.2.2温度模块
温度模块采用美国DALLAS公司生产的DS18B20一线式数字温度传感器。DS1820数字温度计提供9位(二进制)温度读数指示器件的温度信息,经过单线接口送入主机CPU,被测温度值为-55~+125℃。温度模块与主控CPU的接口电路如图2所示。

1.2.3光强模块
光强模块通过ADC0832将光敏电阻感应光强产生的模拟信号转换为数字信号采样至单片机,实现对车内光强数据的采集。
1.2.4LCD显示模块
显示模块采用带中文字库的LM6029LCD显示屏显示输出。LM6029点阵图形液晶显示模块采用S680724控制器,点阵数128x64,自带中文字库,采用8bit的并行接口与主控CPU相连,显示模块与主控CPU的接口电路如图3所示。

1.2.5电机驱动模块
直流电机的驱动采用LG9110驱动芯片,它能通过控制线带动直流电机的正、反转,从而控制外部输出设备的动作,电机驱动模块与主控CPU的接口电路如图4所示。

1.2.6GSM模块
GSM模块采用西门子公司生产的TC35,具有中英文短信的收发功能。TC35是Siemeils公司推出的新一代无线通信GSM模块。自带RS232通讯接口,可以方便地与PC机、单片机连机通讯。可以快速、安全、可靠地实现系统方案中的数据、语音传输、短消息服务(ShortMessageSer-vice)和传真。TC35模块的工作电压为3.3~5.5V,可以工作在900MHz和1800MHz两个频段,所在频段的功耗分别为2W(900M)和1W(1800M)。
TC35采用的是RS232的电平接口,可以与PC机直接相连。在本设计中,需要主控CPU的UART和TC35之间连接一个TTL转RS232电平电路。
1.2.7电源模块
电源模块采用LM2576DC/DC直流降压开关电源,能将+12V的点烟器直流电压降至+5V和+3.3V等多种直流电压,以供电给其他模块。
1.3软件流程
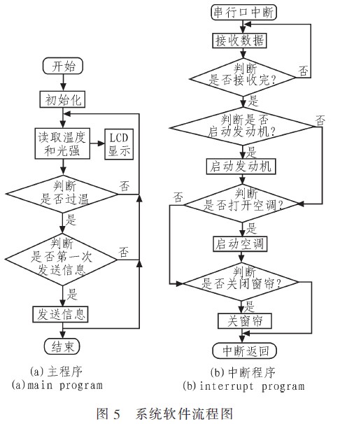
本系统软件分为4大部分。第一部分为DS18B20温度传感,需设定正确时序读取和输出信息;第二部分为光感传感,用ADC0832将光敏电阻感应的模拟电压值转化成数字信号输送给单片机;第三部分为LM6029显示屏,通过单片机控制显示车内的状态;这三部分构成了主程序。第四部分为GSM模块,单片机通过串口中断接收和发送GSM模块通信的信息。系统流程图如图5所示。

2系统测试
2.1测试方案
系统测试采用逐个模块调试和测试的方法。先用万用表测试电源模块的输出是否为系统设计的3.3V和5V;再通过ISP下载测试单片机的最小系统;然后连接LCD模块测试其是否能够正常显示;接下来连接光强传感器和温度传感器测试温度和光强是否与采集值成正比;再测试窗帘、空调、发动机模拟系统在电源模块正常工作情况下能否正常工作;最后用PC机的串口调试和GSM模块之间的串行通信。
将整机系统连接好,电源模块接上电源,重复以上步骤,通过移动电话发信息到GSM模块当中,发送查询指令,观测移动电话机接收到的信息数据和LCD显示屏显示的数据和显示中的数据是否相符合。发送控制指令,观察系统是否按用户要求转动模拟发动机和空调、窗帘是否会自动拉上和关闭。通过以上测试,就可以判断整机运行是否正常。
2.2测试数据
测试数据包括以下4部分:
1)通过万用表测试电源模块的输出正常,+5V和+3.3V的误差在±0.1V以内,接上所有负载后输出的电流达到+2A;
2)通过设置不同的标准状态值,测试到系统的超标自动发送短信至终端功能正常;
3)通过终端发送查询指令至系统,测试到移动电话接收到的信息数据和LCD显示屏显示的数据完全吻合;
4)通过终端发送控制信息至系统,测试到电机所控制的空调和窗帘的动作与指令相同。
2.3结果分析
经过各项性能的测试,系统的指标和参数基本达到预期的效果,如果能考虑到实际的汽车上空调、发动机的接口,系统将更加完善,值得大面积的推广。
3结论
本项目的特色具有如下两个方面:
1)系统能将车内的超标信息通过GSM网络自动的传送至用户终端,也可以由用户在车外远程的查询和控制,克服了用户和车之间的距离所带来的操作上的不便性;
2)系统能自动采集车内的各项参数,自动的将其与用户设定的标准参数相比较,超标时自动通知用户,能自动识别用户回发的查询信息和控制信息,能根据回发的查询信息发送实时的状态,能将回发的控制信息自动转换为控制指令,整个系统具有人工智能的特点。
