摘要:介绍几种适用于中小型水电站计算机监控系统网络结构设计方案。根据水电站的具体情况选择性价比优越的综合自动化系统方案。仅供狼友参考。还有什么好的方案可共同探讨。
关键词:中小型水电站 计算机监控系统网络结构 设计
为了适应电力工业发展的需要,进一步提高设备安全运行及自动水平,改变我国电厂运行管理用人多,效率低的落后局面,水电站值班方式的改革势在必行,使水电站运行管理达到无人值班(少人值守)的水平。
水电站计算机监控系统设计应掌握以下几个设计原则:
● 按照全厂综合自动化以计算机监控为主、常规控制为辅的指导思想进行总体设计和系统配置,使计算机在水电站的应用达到一个新的水平;
● 对于梯级电站,在梯级电站计算机监控系统之间进行通讯,应从安全性和经济性的角度实现部分梯级调度的能力;
● 系统高度可靠、高度冗余,其本身的局部故障不会影响现场设备的正常运行;
● 系统配置和设备选型应符合计算机发展迅速的特点,充分利用计算机领域的先进技术;
● 全分布开放式系统,既便于功能和硬件的扩充,又能充分保护用户的投资。分布式数据库及软件模块化、结构化的设计,使系统更能适应功能的增加和规模的扩充;
● 实时性好,抗干扰能力强;
● 友好的人机接口功能,操作方便。
目前大多数设计院和计算机监控生产厂家,对水电站综合自动化系统都是按分层分布开放式无人值班(少人值守)的运行方式设计,整个系统在物理上分为两层:电站主控层和现地控制层。
电站控制层即上位机系统主要用于综合自动化的组态、维护、水电站运行的监视、操作、信息管理、远动和优化控制。其主要设备配置各种工作站、通信网络设备、打印设备、UPS、GPS对时设备、电话语音报警、模拟返回屏、操作控制台等。
现地控制层由一系列水电站综合自动化装置组成,包括机组现地控制单元、开关站及公用现地控制单元、微机保护测控单元、辅机控制单元等。
用户可根据水电站的实际情况,进行经济技术比较,选用性能价格比优越的方案。下面浅谈几种中小型水电站计算机监控系统网络结构设计方案。

图1 集散式综合自动化网络结构图
一、集散式组网结构
该网络结构是基于RS485/Modbus等现场总线联接的实时通讯网络,如图1所示。其特点就是所有监控功能在一台主机上运行,简单、可靠、造价低、投资少。适用于对监控系统要求不高的小型水电站综合自动化系统。
二、分层分布式组网结构
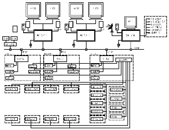
该网络结构基于以太网联接的实时通讯网络,如图2、3、4所示。
1、图2为采用一体化工控机上以太网方式,为全开放、分层、分布式结构,PLC、保护、励磁、调速器、辅机等设备通过一体化工作站与上位机系统通信。这种设计一般在现地设备的配置上,考虑在工控机故障时仍可独立运行。即所有现地单元均可以各自独立运行。每个单元都是由工业控制微机和可编程控制器(PLC)及各个专用功能装置或设备构成,并可以设计成具有各自独立的现地操作、监控功能。该系统功能丰富、人机界面友好、可靠性更高,性价比高,但是投资较高,适用于中型水电站综合自动化系统。
2、图3为采用PLC直接连接以太网的全开放、分层、分布式网络结构,保护、励磁调速器、辅机等设备通过PLC与上位机系统通信,采用工业级触摸屏作为人机界面,系统可靠性极高、性价比高,设备直接上网便于网络控制和管理,系统响应速度大大提高。适用于通信协议较少,对监控系统要求较高在中型水电站综合自动化系统。
3、图4为采用PLC直接连接以太网的全开放、分层、分布式网络结构,与图3比较,该方案中保护、励磁、调速器、直流系统等装置通过通讯管理机与上位机系统通信,减轻PLC通信负担。该设计方案考虑到各PLC生产厂家在直接上网哪个(以太网)上并不是支持所有产品,而且价格较高,因此我们可以考虑另外一种现地设备上网配置方案,就是通过多串口通讯转换装置(通讯管理机)将PLC和其他现场总线设备接入以太网络系统。我们可以在每一个LCU设置一台通讯转换装置,也可以全厂集中设备一台通讯转换装置。该方案的特点是成本较低、性能可靠、系统响应速度快。适用于通信协议复杂,协议数较多而PLC通信接口数较少,对监控系统要求较高的中型水电站综合自动化系统。

图2 一体化工控机组网方式

图3 PLC 组网方式一

图4 PLC 组网方式二
三、冗余组网方式
水电站实现“无人值班”(少人值守)后,由于现场值班人员减少,每值班往往只有两人,当现场设备出现故障时,维护人员一般要等待较长时间才能抵到现场,因此对于监控系统可靠性要求极高在中型水电站,可以采用图5所示的基于以太网联接的冗余组网方式。
该组网方式的硬件要求可根据要求采用多层次的冗余措施,如数据服务器、操作员工作站、通讯服务器、网络交换机、网络通道、UPS、现地总线、机箱电源、机柜电源等,都可以实现冗余配置,并可对PLC扩充双CPU、双电源、I/O模块热插拔等功能,系统要求由软件实现冗余设备的检测与故障诊断,实现冗余部件的无扰动切换,确保系统中某一部件的故障不影响系统的正常运行。故障部件稍后可由维护人员及时处理。该方案系统功能极为丰富,可靠性极高,适用于对监控系统要求极高的中大型水电站综合自动化系统。

图5 冗余组网方式
