摘要:多网络融合是移动通信网络技术发展的重要趋势,TD-LTE、LTE-Advanced系统与WiMAX系统是IMT2000的重要分支,根据标准协议栈和网络架构分析,探讨了TD-LTE,LTE-Advanced网络与WiMAX网络融合方案:基于SAE架构,提出了TD-LTE和WiMAX松耦合的融合方案以及合适的接入点,并探讨了在网络融合中最重要的网络选择和网络切换问题,并给出了解决方案;对于LTE-Advanced与WiMAX系统,则提出紧耦合的融合方案,并给出紧耦合融合的协议栈。
1. 引言
TD- SCDMA是中国提出的第三代移动通信技术标准的TDD模式技术,其采用了智能天线、联合检测、接力切换等关键技术,是一种频谱利用率高、抗干扰能力强的移动通信技术。随着技术的演进与发展,3GPP相继提出了TD-LTE,LTE-Advanced等技术。而WiMAX是近年迅速发展起来的一种新兴宽带无线通信技术,它采用了OFDM、MIMO、HARQ等大量B3G/4G技术,实现了性能上的超越。TD-LTE、LTE-Advanced与WiMAX 系统虽然分属于IMT2000不同的空中接口技术,但是二者在很多方面都有共同点和相似之处。那么这两类高性能系统能否实现相互融合,以及采用怎样的方式进行融合是目前产业非常关注的一些问题。
下面将依据标准协议栈和网络架构分析,对TD-LTE和LTE-Advanced系统与 WiMAX系统融合方案进行了探讨,提出TD-LTE,LTE-Advanced系统与WiMAX系统的演进与融合方案。
2. TD-LTE与WiMAX的融合研究
2.1 TD-LTE与WiMAX的融合架构和接入点
2.1.1 TD-LTE与WiMAX的融合架构
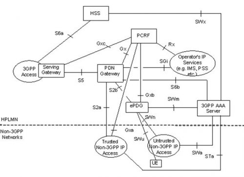
当前,无线接入速度的提升突飞猛进,传统的移动PS域网络已无法胜任高速率和高带宽的未来无线分组业务的考验。因此,3GPP国际标准化组织开始展开下一代网络架构的研究,在R7阶段推出了全新的移动PS域网络架构,即SAE(System Architecture Evolution)[4]。SAE的主要思想是简化现有移动PS网络架构,通过网元整合和功能的重新划分,减少业务处理的中间环节,实现网络架构的扁平化。同时,SAE为LTE网络与其他技术网络的融合设计了接口,规划了多网络融合的网络架构。而WiMAX网络与TD-LTE的融合就可以通过SAE提供的LTE与非3GPP IP网络的网络接口处进行融合互联。

图1 SAE的架构
SAE 的架构如上图所示,其中Non-3GPP IP Access分为Trusted和Untrusted两类,这由运营商决定,例如系统运营商可以基于商业协议选择信任同一个运营商或者不同运营商运营的非 3GPP IP接入网。Untrusted Non-3GPP IP Access需要通过ePDG辅助接入。这里假设WiMAX系统是Trusted的Non-3GPP IP Access网络。那么WiMAX系统主要通过S2a,Gxa,STa接入到3GPP网络中去。TD-LTE与WiMAX融合具体的网络架构如下图所示 [5]。

图2 LTE与WiMAX的融合架构
从上图可以看出,为了保证WiMAX业务的QoS,ASN-GW需要使用策略和计费控制(PCC)架构。在3GPP演进方案中,策略决定点 PDF(Policy Decision Function)和计费规则功能(Charging Rule Function, CRF)融合为一个新的功能实体PCRF(Policy and Charging Rules Function)。WiMAX PCC使用PCRF来接收QoS参数。
2.1.2 TD-LTE与WiMAX融合涉及的接入点
在TD-LTE与WiMAX的融合中,WiMAX ASN直接通过S2a接口接入到TD-LTE中,P-GW执行分组过滤,侦听,计费,IP地址分配等功能,TD-LTE和WiMAX的数据在P-GW进行组合,并通过SGi接口路由到外部网络中。
而用户的认证主要是WiMAX ASN通过STa接口与AAA服务器进行交互。
融合方案中涉及几个重要的接入点:
STa(相当于WiMAX R3-AAA接口):用于对UE进行基于AAA的认证。
Gxa(相当于WiMAX R3-PCC-P):用于执行动态QoS和计费规则。
S2a(相当于WiMAX R2-MIP):用于L3移动性和接入核心网链路的建立。
S14:用于不同网络的选择,并利于优化WiMAX-3GPP切换。该接口也可以提供接入网发现和选择功能(ANDSF)与FAF(Forward Attachment Function)功能实体。
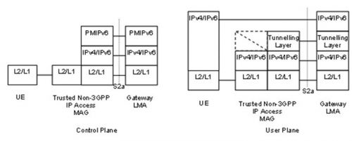
在以上接入点中,S2a是最主要的接入点,是数据传输的接口,不同网络的分组需要在该接入点处进行处理,符合外部网络的特性。因此其协议栈的设计对于数据的传输十分重要。
S2a 协议栈对于PMIPv6和MIPv4稍有不同,对于PMIPv6,终结控制面和用户面的功能实体是non-3GPP IP access(WiMAX)的MAG(移动接入网关)和网关中的LMA(本地移动锚点),这里LMA包括本地代理的功能。控制面的协议栈是基于 IPv6/IPv4的PMIPv6,用户面的协议栈是基于IPv4/v6转发分组。而对于MIPv4,终结控制和用户面的功能实体是UE中的MN和 non-3GPP IP access(WiMAX)的FA,以及网关中的HA。控制面协议栈是MIPv4,用户面在IPv4传输层转发IPv4分组。

图3 S2a 参考点协议栈(PMIPv6)

图4 S2a 参考点协议栈(MIPv4)
从以上分析可以看到S2a协议栈比较简单,符合数据传输转换的需要,是TD-LTE与WiMAX融合最合适的接入点。而TD-LTE和WiMAX融合的网络架构采用的是核心网全部或部分共用的方式,即TD-LTE和WiMAX具有独立的无线网,TD-LTE和WiMAX的核心网既有各自独立的部分,也有共用的网元,例如AAA服务器、PCRF、PGW等。
2.2 TD-LTE与WiMAX的网络选择
在TD-LTE与WiMAX 网络的融合中,网络选择和切换是非常重要的问题。网络选择是指新到达的UE如何接入到无线网络中,下图详细介绍了TD-LTE与WiMAX网络之间的最初的网络选择过程[5],这里主要讨论单无线链路的解决方案,即终端只能接收TD-LTE或者WiMAX中的某一条链路信息。

图5 TD-LTE与WiMAX网络之间的网络注册过程
首先,移动终端需要与WiMAX BS进行同步并交换基础能力信息,接着触发EAP-AKA程序用于终端认证,经过成功认证之后,终端和BS之间将经过3次握手来交换空口的安全密钥,接着将进行注册,触发BS和ASN-GW数据链路的建立,这样,根据认证期间从AAA服务器中下载的协议建立服务流。此时,层2上的连接已经建立起来。而UE 连接的网络将触发DHCP过程获得IP地址,在交互Proxy Binding Update和Proxy Binding Acknowledge信息之后,链路将通过代理MIP在ASN-GW和P-GW之间建立,在此期间,PCRF从ASN-GW和P-GW中得到策略参数。
从上述过程可以看到,TD-LTE可以让终端通过AAA服务器,WiMAX ASN-GW和P-GW之间的PMIP接口(S2a)接入到核心网中。并且,PCC可以对用户业务提供动态策略和计费规则。
2.3 TD-LTE与WiMAX的网络切换
TD- LTE与WiMAX系统间的切换最重要的一点是提供用户的无缝移动体验,即TD-LTE与WiMAX之间的切换对用户来说是透明的。UE是否进行切换可以由UE决定,也可以由网络侧决定。3GPP R8要求UE决定切换,因为首先,UE可以基于它的无线测量,用户实现配置的参数选择,和运营商的移动策略来决定切换;其次,UE不需要向网络发送异系统之间的策略;第三,对TD-LTE网络和WiMAX网络的影响最小,例如,TD-LTE网络不需要接收WiMAX小区的测量报告,不需要决定是否进行切换,也不需要跟踪WiMAX的资源使用情况,对于WiMAX网络来说也是如此。下面将以终端从WiMAX网络切换到TD-LTE网络为例来讨论TD- LTE与WiMAX网络之间的切换。
在切换方案中,需要建立新的功能实体FAF(Forward Attachment Function)[5],UE可以通过S14接口与FAF联系。从WiMAX网络切换到TD-LTE网络,终端通过WiMAX接入网和FAF建立通信,得到与切换相关的信息,FAF相当于eNB;相反地,从TD-LTE网络到WiMAX网络,终端通过TD-LTE接入网和FAF建立通信,得到准备切换相关的的信息,在这种情况下,FAF的功能相当于WiMAX ASN功能。在切换中假设WiMAX网络支持PMIPv6,这样WiMAX网络和P-GW之间可以建立PMIPv6隧道。

图6 WiMAX到TD-LTE的切换流程
TD- LTE与WiMAX的切换流程如上图所示。UE通过ANDSF/FAF得到LTE邻区信息,以及系统间的移动策略。UE接着测量LTE邻区,如果UE决定发起切换,UE将发起预先注册过程,预先注册过程是典型的3GPP attach过程,虽然UE在WiMAX网络中,但是可以通过UE和FAF之间的IP隧道进行。注册过程由UE发送给FAF的Attach Request信息激活,FAF将Attach Request信息通过普通的Iu-PS接口发送给SGSN,它将发出普通的LTE认证过程,如果认证成功,SGSN将接收attach请求,并发送 Attach Accept信息,同时更新UE在HSS中的位置信息。
注册之后,当UE决定需要向TD-LTE切换的时候,UE可以自主的或者被动的选择一个LTE小区,在被动选择模式中,UE发送Handover Required信息给源WiMAX ASN,其中包括候选LTE小区,源WiMAX ASN向UE发送包括切换目标LTE小区的Handover Request Response信息。目标小区选定之后,UE发送包含目标小区的Handover Request信息给FAF,FAF使用正常的Relocation过程在目标小区中准备合适的无线资源,并且向UE发送Handover Command信息,其中包括目标小区的信息。此时,UE离开WiMAX网络,按照3GPP正常的切换程序接入到目标小区中,即发送Handover Complete信息,并完成Relocation过程。之后,UE创建一个合适的PDP context,并继续数据传输。
需要注意的是,在 PDP context创建之后,UE维持和同一个P-GW的连接,因此保持原来的IP地址。另外,TD-LTE和WiMAX切换还需要保持业务的QoS。这需要考虑QoS映射,资源分配等情况。WiMAX允许多条业务流具有不同的QoS,这与3GPP PDP内容激活程序类似,另外,业务分类也是需要考虑的部分。WiMAX与3GPP之间的QoS保持主要是通过PCC来提供。
从以上分析可以看出,通过无缝切换,TD-LTE和WiMAX可以顺利的实现网络互通,数据互相传输。
2.4 小结
TD- LTE与WiMAX的融合只能通过松耦合的方式进行,采用双模协议栈,独立的无线网,统一的对外业务出口,这种融合方式可以在TD-LTE和WiMAX系统之间实现无缝传输,并且通过交换QoS参数可以保证业务在不同网络之间传输,而且这种融合方式采用3GPP的SAE架构进行实现,通过S2a接口进行 WiMAX网络与TD-LTE网络的数据传输,通过Gxa接口与PCRF实体沟通,实现业务QoS的保持,通过STa实现用户AAA认证,是比较简单,对现网改造较少的融合方式。
3 LTE-Advanced和WiMAX融合分析
LTE- Advanced是LTE的演进版本,需要支持更高的峰值速率,更高的频谱效率,还有更高的用户吞吐量和用户数目,还需要进一步提高小区边缘用户的体验。从技术的角度看,LTE-Advanced和WiMAX物理层都采用了相似的先进技术,如OFDM、MIMO、自适应链路层技术以及分等级的多种QoS 保证机制。两者都是设计为基于全IP 核心网的蜂窝式网络结构,在无线接入网络(RAN)的结构方面都弱化基站控制器设备实体,采用公共无线资源管理控制基站等概念,这些都为网络的互联及融合机制的研究及设计提供了良好的条件,如负载均衡、动态频谱分配、系统间无损切换等。
一般来说,在研究LTE-Advanced和WiMAX互联结构时,需要考虑如下问题:
●提供网络间相互协作的同时,要折中考虑网络之间的公平性。
●合理定义结构实体,使LTE-Advanced和WiMAX之间以一种性能耗费比更优的方式通信。
●定义总的容量、指标和每个网间架构实体的功能。
●互联架构应当是灵活的,能够在不引入太多新节点和接口的条件下支持其他新型网络的协作。
由于LTE-Advanced和WiMAX的网络结构相对简单,并且LTE-Advanced的网络架构还没有最后确定,因此,LTE-Advanced与 WiMAX有可能在空口进行紧密融合。如果LTE-Advanced沿用LTE的网络架构,那么,在LTE-Advanced和WiMAX系统之间实现异构互联的架构,需要增加必要的节点和接口。因此,一个非常重要的概念及功能体被引入来完成网络间协作:通用链路层(GLL)[6]。在此融合网络架构中,LTE-Advanced与WiMAX接入网互为补充进行网络覆盖,GLL 被引入到数据承载节点中,如多模终端,承载网关等,以在原有链路层机制上增加协作功能,如分组队列、高层数据头压缩、分割和重传功能等。同时,协调无线资源管理功能体被引入到原有的无线资源控制层(LTE-Advanced)及MAC(WiMAX)中,以保证网络融合后整体的无线资源能更有效地利用。
3.1 通用链路层技术GLL
GLL 可被看作在原有协议层上增加的一个新的通信层,用来为不同的无线接入机制提供统一的链路层数据处理功能。GLL 的设计可与MAC 层进行不同程度的耦合,一般来说,耦合程度越高,系统互联的复杂度越高,但能带来更高的多接入增益,GLL 的功能主要包括:
●作为不同接入技术的汇聚层,为上面的各种高层协议(如网络层)提供统一的接口,达到屏蔽不同无线接入技术差异的目的。
●对不同接入技术的RLC(无线链路控制)/MAC 功能进行控制及补充,达到资源的有效利用以及最大化发挥应用层性能。
●保持网络协议层的模块化结构,以支持不同的接入技术的融合。
●提供对用户数据包在不同网络间调度,以利于网络分集增益。
●提供链路层状态信息给上层,以支持有效的接入网络间的移动性管理。
下图给出了采用GLL后的WiMAX与LTE-Advanced网络融合参考协议架构。其中:PDCP表示分组汇聚协议;BMC表示广播、多播控制协议;CS表示汇聚子层;CPS表示通用部分子层;SS表示加密子层。该协议架构是基于一种紧耦合的方式,GLL放在原有协议的层2之上,但在层3之下。由于在LTE中,控制与数据层面已经分离,GLL分别定义了控制平面(GLL-C)和用户平面(GLL-U)。在用户平面,基于不同网络的不同格式MAC数据通过GLL-U层处理,提供给上层一个统一格式定义的数据流。在控制层面,GLL-C将各网络的下层反馈信息收集,并传递到协同资源管理单元,以进行动态的资源管理。

图7 基于GLL 的互联网络协议架构
可以看出,LTE-Advanced与WiMAX的融合可以达到紧密融合的要求,即两个网络可以共用核心网和空口,只是在无线传输侧有所区别,在这种程度上的融合,才是WiMAX和3GPP系列网络的真正融合。
4. 总结
本文依据标准协议栈和网络架构分析,分析和探讨了TD-LTE,LTE-Advanced网络与WiMAX网络融合方案:基于SAE架构,提出了TD- LTE和WiMAX松耦合的融合方案以及合适的接入点,并探讨了在网络融合中最重要的网络选择和网络切换问题,并给出了解决方案;对于LTE- Advanced与WiMAX方案,则给出了紧耦合的融合方案,以及紧耦合的协议栈。从分析可以看出,随着技术的发展,3GPP系列网络与WiMAX网络的融合越来越紧密,相信在不远的将来,3GPP系列网络可以实现与WiMAX的全面融合,共同发展。
