一、第一种简易天线的制作方法:首先在易拉罐开口的外侧用钉子扎一个孔,穿过一个螺丝,把两个易拉罐分别固定在一个绝缘的板条上(这种板条可以用学生用的塑料尺代替),再取—段300Ω的馈线(长短根据需要而定,一般两米左右)分别固定在绝缘条上的两个螺丝上,另一头接上匹配器(75—300Ω)。两购个易拉耀之间的距离为60至80毫米。最后找一个漂亮的酒瓶子做为底座,在酒瓶盖上打个孔与绝缘条固定住天线就做好了。
调试方法:
①可移动天线的位置
②可以旋转天线调试
③可以调整天线的夹角。
二、第二种简易天线的制作方法:用6个易拉罐,l根90厘米长的细铜管(或用8号钢丝), 5块绝缘板条。
①把5块绝缘板条,用带帽螺丝连接固定,做成如图的支架(杠架长边42厘米.宽边12厘米,斜边20厘米)。

②将3组易拉罐对称平行地用带帽螺丝固定于支架上。AB、CD、EF的间距(指易拉罐)为10厘米;AC、CE、BD、DF的间距为20厘从 G、H分别为CE和DF的中点(即10厘米处),将细铜管(或铜丝)弯成环形(直径25厘米),用借帽螺丝固定于G、H扎内,并使铜线环垂直于支架。
③将扁馈线的两个头连接在CD组易拉罐的带帽螺丝柱上,并用螺帽固定紧。另用两根短导线(普通电源线即可)将CG、DH连接好井固定紧,即中间一组易拉罐的两个螺丝柱与铜线环的两个头连接通。
④将一根小木棒置于框架下方正中“O“处,用木螺丝固定紧,并把小木体插入—竹竿中并箍紧。将竹竿竖于屋顶或阳台上,将AB组易拉罐一端对准主要电视台发射塔,即可收到满意的效果。
这种全频道易拉罐电视天线特别适用于边远山区。
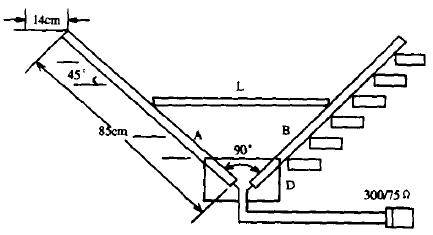
三、利用铝制易拉罐稍加组装,可制成一架接收性能良好的电视天线如图所示。

主要用两根直径10mm、长85mm的铝管。两主管的夹角为90°,用螺丝将A、B端固定在绝缘板D上,用绝缘管L加强固定。在每根主管上焊接固定6根长14cm的支管,支管与主管的夹角为45°。在A、B端用300Ω馈线引下,再通过300/75Ω阻抗转换插头接入电视机。
易拉罐的装法是:在易拉罐的上下盖各打一个孔,然后套在支管上,并用稍子固定就可。
使用时,将天线朝着电视台方向水平放置在楼顶或无障碍物的高处,然后边看电视边调节天线的位置(方位),调到最佳位置固定下来。此天线对1-38频道都有较好的接收效果。
四、用12个易拉罐制成的电视天线,接收电视信号的效果比自制的其它天线效果好。
罐装各种饮料的易拉罐容易得到铝质易拉罐是制天线的主要材料。一般先做一个“T” 形的木质托架,把易拉罐每侧6个固定在横梁上。在易拉罐两端的圆心处钻孔,孔1~2毫米,刚能穿进去剥掉外皮的铜芯线即可。要选线芯稍粗的导线。穿起来的易拉罐要靠紧, 线芯固定在铁钉上,按附图制作。为了牢固, 再用金属丝把易拉罐在横梁上绑紧,从中间的两个铁钉上的铜线引到电视机。

