引言
一些面板由于设计和工艺等原因,存在着液晶分子特性易遭破坏等问题,所以在设计驱动液晶面板的驱动电路时需要增加特殊的功能电路,来实现液晶分子偏转方向的控制。本文介绍了一种控制液晶显示器像素电压的极性变换的方法,克服了现有技术中由于极性变换信号的单一极性变换规律使得液晶分子的特性容易遭到破坏的问题。
1 系统总体框图
本设计系统的基本单元由时序控制器(T- CON)、微控制单元(MCU)、极性保护电路、液晶面板构成。系统框图如图1 所示。时序控制器是驱动液晶面板的核心器件,它的主要功能是为TFT- LCD 面板中的栅极驱动器和源极驱动器提供必要的时序控制信号。它将接收前端送过来的LVDS(Low Voltage Differential Signaling,低压差分信号)信号转化为MINI- LVDS 信号,通过输出相应的时序控制信号来驱动液晶面板,使每一个像素点显示对应的像素电压。微控制器在本系统中起到计数控制作用,它通过计数T- CON 送过来的相应的控制信号,来实现POL 翻转信号翻转的时序控制。极性保护电路在本设计中的主要功能是考虑到如果MCU 不正常工作而导致POL 翻转信号不正常输出给液晶面板的情况下,通过控制STV 信号而使驱动液晶面板的信号没有输出,以达到防止屏在很短的时间内极化的作用。系统中还包括电源管理芯片,其主要作用是给T- CON、MCU 和保护电路提供正常工作所需的电源电压,电源管理单元使用的芯片是DC/DC 芯片和LDO(Low Dropout Regulator,低压差线性稳压器) 转换,DC/DC 芯片将输入的12V 电压经过BUCK 电路(降压式变换电路)转换成3.3V,LDO 将3.3V 电压线性转换为1.8V电压。

2 整体设计
2.1 时序控制器及输出波形介绍
时序控制器输出的四个主要控制信号分别为STV、CPV、TP、POL 信号,如图2 所示。STV 信号是一帧图像的起始信号;CPV 信号是T- CON 输出给栅极驱动器的时钟信号,通过移位寄存器后依序输出给每一行的薄膜晶体管(thin filmtransistor,TFT), 来控制TFT 的开启与关闭;TP信号为T- CON 输出给源极驱动器的数据源行锁存信号,当某一行的TFT 开启时,源极驱动器将输入的数字信号转换为模拟信号输出给TFT的源极端,TP 上升沿锁存数据,下降沿输出数据;POL 信号为控制像素电压的极性翻转信号,本设计采用的是Z INVERSION 的极性反转方式,由于特殊的面板架构(即相邻两列相同极性的像素点都是连在一起的),使它的极性反转频率等于帧频,这样可以大大降低POL 信号的频率,同时也相应地降低了源极驱动器的功耗和温度。在一帧图像到来之前,POL 信号会根据已经设定的极性翻转方式来控制这一帧图像像素电压的极性。以60Hz 1,366×768 分辨率的液晶面板为例, 图2 是这几个控制信号的时序关系图,由图中可以看出,POL 翻转信号发生在上一帧的BLANK 区域(无效数据区域),在下一帧的STV 来临之前已经翻转完毕,距离STV 上升沿有23.6μs 的时间,也就是说某一帧的像素电压的极性在这一帧起始的时候已经设定好了。在这一帧图像要传输数据时,首先STV 信号来一个脉冲宽度为21μs 的高电平, 后延迟4.8μs的时间CPV 开始动作,将第一行的所有TFT 打开,再延迟4.4μs 的时间第一个TP 开始动作,TP 上升沿将数据锁存,TP 高电平的时间为2μs,在下降沿的时刻将第一行的数据输出给TFT 的源极端来显示第一行的数据。依照此时序关系,待这一帧数据全部显示完需要768 个TP信号,60Hz 面板前端设定的TP 数为789 个,从769 到789 个TP 这段时间为BLANK 区域,该时间里的TP 都为无效的TP,也就是说这段时间内没有数据DATA 送入。

2.2 MCU 及反转机制
本设计中采用8 位C- MOS 闪存单片机,该单片机有5 个I/O 口, 分别为GP0、GP1、GP2、GP4、GP5,以及一个仅用作输入用的接口GP3,通过单片机编程可以实现POL 信号的翻转。

MCU 管脚定义分别为1- VDD、2- TP、3- POL_IN、4- STV、5- 默认低电平、6- POL_OUT、7- 28s 翻转触发电平、8- VSS, 信号输入端分别接一个100Ω 的电阻作为MCU I/O 口的保护电阻。
T- CON 送出来的TP、POL_IN、STV 信号作为输入信号,分别输入到MCU 的2、3、4 引脚作为计数信号,当MCU 正常工作时设定5 脚输出为低电平,6 脚是经过反转后的POL 输出信号。为了在每隔28s 的时间内能够触发到POL 翻转信号,所以设定一个触发电平,当28s 反转的时刻,该电平会发生由高到底或由低到高的电平翻转,易于触发。实现28s 翻转的机制是通过MCU 计数STV 和TP 个数来实现的,以60Hz 来说,1s 是60帧图面,一帧图像有一个STV,所以28s 的时间有28×60=1,680 个STV 信号,计数的机制就是通过MCU 计数1,679 个STV 后,然后计数780 个TP 后将POL 翻转。由于MCU 的指令周期,所以需要限定POL 反转结束的时刻要落在当前图像帧有效的数据源行锁存信号结束之后,以及下一图像帧的起始信号之前。
如图4 所示,1 为触发电平,2 为POL 翻转后的信号,3 为STV 信号,4 为TP 信号,从图中可以看出,POL 翻转脉冲结束时刻确实发生在下一帧的STV 信号来之前,这个翻转脉冲的宽度大约是150μs,MCU 从检测到第1,679 个STV 和780个TP 信号后计数到POL 信号反转,由于MCU寻址语句的执行需要3 个TP 的时间,所以在翻转脉冲来之前有3 个TP 的时间。由图中可以看出,POL 翻转前后的电平是一样的,正常情况时下一帧POL 信号应该是高电平,但是图中经过反转后POL 仍然是低电平,也就是说POL 经过了一个电平的翻转后将POL_OUT 信号与POL_IN信号反向输出, 实现了每隔28s 的时间将POL_OUT 与POL_IN 做一次反向输出的功能。

2.3 POL_IN 与POL_OUT 波形
如图5 所示,1 为POL_IN 信号,2 为POL_OUT 信号,3 为翻转触发电平,常规的POL信号是标准高低电平的方波信号,每个高低电平分别控制一帧图像的像素电压极性,高电平和低电平的图像帧像素电压极性不同。从图中可以看出,MCU 将输入的POL_IN 信号进行了反转,在翻转脉冲之前28s 时间里POL_OUT 信号和POL_IN 信号是同步的,翻转脉冲之后的28s 时间里POL_OUT 和POL_IN 是反向的,也就是说每隔28s 的时间,MCU 将POL_IN 信号做一次反向输出,这样做是为了防止POL 极性变换信号的单一变换规律而导致液晶分子的特性遭到破坏发生极化现象。

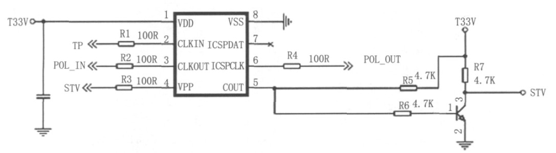
2.4 保护电路工作原理
极性保护单元的电路结构图如图3 所示,单片机的引脚5 通过阻值为4.7KΩ 的电阻R6 与NPN 三级管的基极端电连接,并且通过阻值为4.7KΩ 的电阻R5 与电压端(3.3V)电连接。NPN三极管的集电极端通过阻值为4.7KΩ 的电阻R7 与电压端(3.3V)电连接,并且时序控制器输出的STV 信号输入到NPN 三极管的集电极端。
NPN 三极管的发射极接地。保护电路工作的原理是利用一个NPN 型三极管来控制图像的起始信号STV 信号来达到保护液晶屏的目的,当MCU 正常工作时,编程输出第5 脚为低电平,三极管截止,STV 信号只是加了一个上拉电阻到3.3V,增加了STV 信号的驱动电流,不影响信号图像的正常输出。当MCU 一旦不正常工作,第5 脚默认为高阻态, 三极管的基极接两个4.7KΩ 的电阻到3.3V, 三极管基极电压大于0.7V 正常导通,接在集电极端的STV 信号被强制拉到地,使画面没有输出,可以保护液晶屏显示因为没有POL 信号的输出而在很短的时间里发生极化的现象。
3 结论
应用MCU 搭建翻转电路实现了控制液晶分子像素电压极性的功能,该设计具有系统简单、低成本、低损耗和高效率等优点,已成功解决了由于极性控制信号单一翻转产生的极化问题。
