摘要:本论文是依托某发电厂废水处理项目设计与实现展开研究讨论的。该项目的主要任务是设计一套符合废水处理工艺要求、采用现场总线技术实现监控功能的PLC控制系统。该系统克服了人工控制精度低、操作运行繁琐、误操作可能性大等缺点。系统的废水处理工艺流程具有一定的先进性,达到了电厂废水零排放,大大提高了水的利用率。论文着重研究探讨了PLC控制系统及现场总线监控部分的设计思想和具体实现,并对其中的工程问题作了较详细的讨论。
针对现场总线监控部分的报表及打印工程问题,作者提出了用外部应用程序ActiveX技术进行扩展设计的方案并在工程中得到了实现。
最后,作者对用户局域网远程监控技术进行了研究讨论,提出一套基于局域网和数据库技术的远程监控方案并通过实验证明了该方案的可行性。
关键词:废水处理控制系统,PLC,WINCC,Profibus,ActiveX,Delphi
一、项目简介
本电厂废水处理控制系统项目所在地位于山西省霍州市。霍州发电厂于1967年1月由水利电力部批准筹建,采用火力发电,装机容量40万千瓦,年发电量25亿千瓦•时,主要担负着山西中南部地区工农业生产及人民生活用电,是山西电网的主力电厂。
霍州发电厂建设时正处于中国发展的特殊年代,在选厂、设计、设备选购、施工、安装和投产发电等方面追求简易发电,给安全经济生产留下先天缺陷。由于火力发电厂是工业用水大户,因此每天的工业废水如果直接排放,不仅浪费水资源,而且会造成严重的环境污染。
以往的废水处理系统采用人工手动控制,造成人员工作强度大,控制效率低,控制工艺落后。本次项目采用全新的自动控制系统和监控技术可以克服以前人工控制精度低、运行操作繁琐、误操作可能性大等缺点,该系统的废水处理工艺流程具有一定的先进性,达到了电厂废水零排放,大大提高了水的利用率。同时可以通过网络把监控数据融入整个电厂的自动化管理中,节省人力物力,便于集中管理。通过本自动控制系统把处理过的废水再纳入整个电厂的水循环中,提高电厂用水的效率,节约成本,提高了整体的经济效益。使电厂的自动化管理和自动化控制生产方面达到一个新的高度。

图1 霍州发电厂污水处理池外景
二、系统介绍
1. 项目工艺简介
本次项目的主要任务包括含煤废水的回放、化学再生废水收集、主厂房内系统优化消防、生活水系统隔离、生活污水及工业废水回用工程。采用一定的污水处理工艺,并通过自动化控制达到预期规定的控制指标。整个废水处理系统由收集池、调节水池、净化器、污泥池、清水池等部分组成,在废水处理过程中,我们将系统划分为五个子系统来处理,分别为:净水系统、储药系统、过渡调节系统、清水回用系统以及污泥浓缩系统。
电厂的废水处理系统工艺流程图如图2所示:图中的圆代表收集水泵;长方形代表集水池;长圆罐代表一体化净化器,系统中共有四个净化器,其余三个在图中省略。箭头的指向代表废水的流向,其流向为从左往右。

图2 电厂废水处理系统工艺流程图
2.项目方案
为保证废水处理系统安全稳定的运行,该项目中控制器、执行器、监控组态部分均采用西门子系列产品,主要有以下几部分:
a. 负载电源模块(PS):PS 307
b. 接口模块(IM):IM360,IM361
c. 中央处理单元(CPU):CPU315-2DP
d. 信号模块(SM):数字量输入模块SM321,数字量输出模块SM322,模拟量输入模块SM331,模拟量输出模块SM332
e. 执行器:MicroMaster430/420变频器
f. 监控组态软件:WINCC(Windows Control Center)6.0
三、控制系统构成
控制系统的设计包括PLC控制系统部分,系统采集与执行器控制部分以及上位机的监控系统部分。系统结构设计图如图3所示。

图3 系统结构设计图
1. 系统硬件配置
在电厂污水处理控制系统中,根据用户要求及实际情况分析,我们采用西门子公司的S7-300系列产品来完成此项目。参照西门子公司提供的产品技术参数,以S7-300系列中的CPU315-2DP实现控制功能,由于该系统模拟及数字输入输出量较多,采用接口模块IM360、IM361(主机架使用IM360,扩展机架使用IM361)连接扩展的信号模块满足系统要求,其中信号模块包括若干数字量输入模块 SM321,数字量输出模块 SM322,模拟量输入模块SM331,模拟量输出模块SM332。
现场多台工作泵采用西门子MicroMaster430变频器,MicroMaster430变频器除了具有第四代变频器的特点以外,还具有应用于风机和泵类的硬件和软件特征,尤其适合用于风机和水泵负载的控制。使用此种型号的变频器可以节约能源消耗,降低运行噪声,对环境起到很好的保护作用。
电厂污水处理控制系统的输入输出信号主要分成4个部分,放在三个相连的导轨上:
模拟量输入:一站集水池液位,二站集水池液位,清水池液位,污泥池液位,过渡水池液位,溶药箱液位,流量计和四个进化器的浊度和压差。
模拟量输出:四个控制变频器(一站收集水泵、回用水泵、加药计量泵a、加药计量泵b)。
数字量输入:分为各个水泵风机的运行,故障反馈信号,手/自动选择信号;各个阀门的手动开,关控制信号,故障反馈信号和手/自动选择信号。
数字量输出:分别为对各个水泵、风机的开、关、复位输出控制信号;各个阀门的开,关输出控制信号;变频器的启动,复位控制信号。
系统配置了操作员站和工程师站,操作员站的上位机采用研华科技的610H工控机,监控系统使用西门子WINCC监控组态软件,它不仅能很好的支持S7系列的CPU,还集成了多种网络连接方式,使上位机与自动化系统的连接工作非常方便。而且它提供了适用于工业的图形显示、消息报警、过程值归档以及报表打印等模块,具有高性能的过程耦合、快速的画面更新、以及可靠的数据管理功能。图4所示为WINCC组态示意图。

图4 WINCC组态示意图
2.控制方案选择
在采用本系统实施方案前,客户拟采用CPU315模块及通信处理器模块CP343-1实现系统要求,由于CP343-1有其自身的处理器可连接 SIMATIC S7-300和工业以太网等 ,可独立处理数据通信,这样使得系统可扩展性增强。由于考虑到项目总体预算及成本,本方案将前方案中 CPU315模块换为CPU315-2DP,并省去通信处理器模块CP343-1,这样既满足了系统要求,又减少了系统模块,综合计算后为项目开发节约了不少硬件开支。
四、控制系统完成的功能
1.控制系统功能及指标
(1)软件实现
根据工艺,整个系统的程序由下列几个部分组成:1#集水池、2#集水池、清水池、调节水池、净化器正洗、净化器反洗、加药、净化器停止。每个程序都可以单独控制和单独运行,同时每个程序又是系统的组成部分,它们之间互相有数据的传输。它们组合在一起动作就构成了完整的PLC控制系统程序。下图5为工业部分现场图:

图5 工业现场
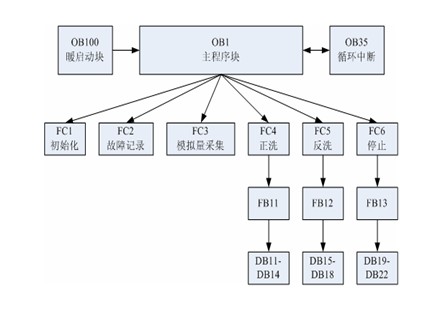
程序中编程采用STEP 7软件。这套软件不仅是一个简单的程序编写软件,还集成了硬件组态、网络组态、系统调试、项目管理等各种功能,使项目的实施更加方便。在本控制系统的完成过程中,主要进行了以下几部分的程序设计(如图6):

图6 项目OB1中程序结构图
由废水处理的工艺流程可以知道,废水在经过一系列的水池后最终进入四个废水净化器,在净化器里经过工艺的处理后排放到清水池中。从程序角度看,四个废水净化器的控制流程一致,因此没有必要为每个净化器编写一段代码,只需编写一个函数块,让它们都调用即可。为此,对于在净化器中的正洗、反洗和停止流程都编写了一个程序块,分别是FB11,FB12,FB13。对于每个净化器来说只要分别调用相同的函数块就行,对于每个净化器中不同状态的数据是利用其不同的数据块来加以区别的。这样在整个程序中即保持了流程的统一性,即减少了程序代码,节约了存储空间,又方便维护和修改。
模拟量信号因为其在传输过程中有可能会受到其它信号的干扰,而可能出现较大幅度的瞬间变化,而这些值对于系统来说是毫无用处的,甚至有些还可能引起系统的异常运行。由于模拟量总是随着时间连续变化的,所以可以利用滤波算法把瞬间变化的干扰信号过滤掉,把有用的数据传输给PLC控制系统处理。在废水处理控制系统中由于所要求数据处理速度不快,精度也是不要求太高,只是为了防止突然间信号的瞬间变化影响到系统中程序对水质,浊度的判断,所以在系统中使用算术平均滤波算法,算法处理简单,可靠性高,程序编写方便。在程序中定义了FB21作为滤波处理算法的功能块,相当于函数一样,参数的传递是 Analog_in变量,返回值是Analog_out变量。事实证明这种算法已经能够满足现场的实际需要,取得了良好的效果。
本控制系统使用的CPU 315-2DP中没有集成相应的系统功能块,故程序中使用FB41 “CONT_C”作为PID控制功能块。 CONT_C可以在S7系列PLC中实现对于连续输入输出变量的PID控制。CONT_C中的PID控制环节为增量式PID环节,相关参数可以通过输入参数进行实时调整。PID控制程序块与模拟量滤波算法一样都放在定时中断OB35中,它们一个是输入滤波,一个是输出控制,这样可以准确地掌握程序运行时间,提高控制精度。
(2)硬件实现
电厂污水处理控制系统的输入输出信号主要分成4个部分,分别为模拟量输入、输出,数字量输入、输出,并放在三个相连的导轨上,如图7所示:

图7 实际系统的机架结构图
输入输出的硬件接口是也是系统设计的一部分,它反映的是PLC输入输出与现场设备之间的连接,只有正确连接安装才能使得PLC读取到数字量和模拟量,连接方法的不同可以有效地防止现场的干扰,保证数据的正确性。
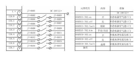
对于SM321的数字输入量模块,在15-25V直流电压以内都能检测到信号。由于现场的执行器也是发出的直流信号,因此把其直接和现场的开关设备连接来接收开关信号量,图8给出了的数字量输入模块接口示意图。

图8 数字量输入接线原理图
数字量输出选用晶体管输出模块SM322,晶体管输出的响应时间短、寿命长、输出口密度高,但是其只能带直流负载而且带载能力弱。同时为了使 PLC的输出和现场回路之间隔离,在输出端使用了继电器,通过继电器触点控制现场负载。这样使控制器与现场达到了电气隔离的作用,大大提高了系统的安全性,同时也使输出口带载能力得到了大大的增强。在继电器旁边加二极管泄放反电势能量,起到保护输出口的作用。图9给出了数字量输出模块接口示意图。

图9 数字量输出接线原理图
SM331采用4-20mA电流输入连接到传感器上,采集系统模拟量数据。图10给出了模拟量输入模块接口示意图。

图10 模拟量输入接线原理图
SM332输出0-10v电压连接到变频器直接给控制信号。图11给出了模拟量输出模块接口示意图。

图11 模拟量输出接线原理图
2.系统的监控与管理
系统采用WINCC5.2监控组态软件在研华科技的610H工控机上实现监控与管理,为生产与安全带来极大的方便。
经过设计,整个监控系统提供了如下的功能:
(1)在线自动监视
系统可对废水处理装置的各项仪表数据实时的在线监视,并且生动直观的反应在监控界面上面。系统的刷新数据是1秒,历史的保存间隔是2分钟。图12为废水处理系统工艺监控界面。

图12 废水处理系统工艺监控界面
(2)在线手动控制
系统可提供在线实时的对参与控制的各电动阀门和泵的手动控制操作。当系统运行中需要进行维护或执行其它控制时,可以在线实时的对各个设备手动的单独控制,而不影响其它设备的正常自动运行。
(3)工艺参数在线实时设定
系统可以提供在线的实时参数修改,当在运行过程中发现工艺需要改进或其它问题,可以由操作员在线改变系统的参数,以使系统工作在最优的控制状态中,如图13。

图13 工艺参数设定
(4)故障诊断和报警
系统可对以下故障自动诊断,并发出预防性的报警。
报警高限:实时参数异常偏大,大于设定值,是该监测点处于高报警。
报警底限:实时参数异常偏小,小于设定值,是该监测点处于低报警。
报警:当实时参数出现异常时,相应的监测点通过颜色的变化,提醒操作员注意,进行相关的操作,若需要可以配合声音报警。
故障报警界面如图14。

图14 故障报警界面
(5)利用历史曲线查询分析远程模拟量的情况
利用历史曲线,可随时针对各个运行点的情况,结合本时间各监测点的数据,分析系统的运行情况,净水器的运行状态。
运行过程中,系统将自动生成数据报表,并将数据报表保存在历史数据库中,以便随时查询历史记录。图15所示为趋势曲线界面。

图15 趋势曲线界面
(6)报表的打印
报表打印可以根据操作员的要求,生成符合要求的系统报表,并且打印。也可以设定让系统自动的根据间隔的时间实时的打印报表。图16所示为报表打印界面。

图16 报表打印界面
(7)系统指标
系统的数字量输入点为227个
系统的数字量输出点为125个
系统的模拟量输入点为15个通道
系统的模拟量输出点为4个通道
系统监测数据刷新时间为1秒
历史数据的保存及报表显示:根据硬盘存储器的大小来决定保存的时间。保存的间隔为2分钟,初步估计可以有效存储13年左右。
3.项目亮点及难点实现
(1)WINCC定时器问题
在定时器的使用过程中,由于设定的定时时间是需要根据实际的工艺来调整的,为此不能在定时器中使用常量定时时间。要新建DB25数据块,建立变量的参数时间选择TIME数据类型,它是一个32位的数据,T#1D_1H_1M_1S_1MS,前面是一个标准的例子,表示定时时间为1天1小时1分 1秒1毫秒。使用可变参数是为了和WINCC中通讯,使得现场操作员可以根据当前水质等一系列变化调整时间值,由于在WINCC中没有TIME这个数据类型,只能用DWORD32位整型类型来操作,这就涉及到了两个数据类型的转换的问题。根据实际情况所得TIME中的1s=1000(DWORD型)。为了减少STEP7中数据的处理量,在WINCC中使用C脚本对数据进行了处理。WINCC中的时间以分为单位,因此 1M=1s*60=1000*60=60000(DWORD型)。
(2) 数据网上发布平台
本项目中设计了系统数据的网上发布平台,在这里有两种方案可以考虑,一是利用西门子公司提供的WINCC Web Navigator软件开发网上的数据传送系统;二是利用Delphi软件来开发网络浏览系统。由于项目经费限制,我们采取了第二种方案。通过这种方案,界面的设计,和本地化系统的集成就都掌握在设计者手中,使得最后的系统能过符合客户的要求,人性化,易用性都比较高,而开发成本也在控制之中。
(3)WINCC中动态报表的设计
在实际项目中虽然WINCC提供了变量趋势显示、报表功能,满足了简单的归档数据访问要求,但不能完成该废水处理工程项目提出的复杂数据处理要求(如:进行有条件的查询和打印,任意时间、任意区段的查询等)。因此,在设计过程中对归档数据复杂查询技术进行了研究。WINCC是一个全面开放的组态软件,它可方便地集成标准Windows应用的对象、函数和文档;提供了访问所有WINCC功能的API编程接口;集成了OLE/OCX和 ActiveX对象;它允许通过标准接口(标准SQL数据库)访问归档数据库;通过DDE、OPC接口与其它Windows程序进行数据交换。这些开放性为自行扩展和进一步丰富WINCC软件的功能、解决该工程问题提供了可能。在本项目中应用ActiveX技术实现WINCC归档数据复杂查询解决该工程问题是可行的:根据用户对控制系统有条件查询、打印的要求,运用Delphi设计ActiveX控件,然后在WINCC中调用该控件,最终实现WINCC不能完成的复杂归档数据访问任务。

图ActiveX控件的界面
五、结束语
系统于2004年10月投入运行,两年来系统运行良好,未进行任何维修,电厂废水达到了零排放,大大提高了水的利用率。
六、应用体会
在项目进行的过程中,西门子在工控领域中安全、可靠、成熟、高效的产品及解决方案为项目的顺利进行提供了保证和保障。西门子的TIA理念及产品特点,着眼于整个工厂的控制和管理,采用统一的数据管理、统一的编程组态平台、统一的通讯规范和灵活的结构配置,从另一侧面保证了项目的顺利完成。
本项目使用了WINCC监控软件,由于软件优越的开放性,解决了项目中的监控方面的难点问题,如WINCC中动态报表的设计等功能。而统一的国际标准编程语言及现场总线技术的应用,以及项目中软硬件设计的模块化,更体现了本系统的可扩展性与可维护性。
附:参考文献
1 肖萍.火电厂排放废水的处理与回用.江苏环境科技.1998(3):18-19
2 STEP 7 V5.2 编程手册.SIEMENS AG.2002
3 S7-300可编程序控制器硬件和安装手册.SIEMENS AG.2004
4 WINCC编程指南.SIEMENS AG.1998
5 求是科技.Visual Basic 6.0数据库开发技术与工程实践.人民邮电出版社,2004
