目前,许多领域都需要对水位、油罐液位、锅炉液位等进行监控。然而,传统的液位控制系统中工业现场和控制室之间都是通过有线模式进行信号传输,缺陷非常明显,其安装、调试成本高,铺设线缆麻烦,其他干扰因素繁杂。
为了解决传统液位控制系统中有线模式带来的麻烦,采用基于ZigBee短距离无线通信方式的液位过程控制实验平台,可以克服目前有线模式的不足,降低安装、调试、维护的成本,因此,它必将成为未来过程控制实验平台市场中的主流。
ZigBee核心技术可以归结为无线传感器网络技术,该技术具有低成本、低功耗、方便扩展等优点,它的网络结构灵活多变,传感监测范围广,无需接线即可随时增加监测点。因此,无线传感网络在军事、农业、工业、医学、家居生活及娱乐方而有着广阔的应用前景。
本系统是在基于ZigBee的无线传感器网络技术的基础上设计的无线液位过程控制装置,符合传感器智能化、无线化、网络化的发展趋势。
1 系统总体设计
本系统通过ZigBee无线技术将CS—E型液位过程控制装置的信息传输到数据库中。一方面,操控人员和用户可以通过PC机应用程序或者网页形式访问数据库,从而实时监测液位传感器信息。另一方面,操作人员还可以通过PC机发送控制指令,控制指令通过ZigBee网络到达液位控制节点,然后通过执行器达到液位控制之目的。其液位过程控制装置结构图如图1所示。
图1 液位过程控制装置结构图

图2 系统框图
2 系统硬件集成设计
无线液位过程控制系统主要由液位传感器、控制执行机构、无线数据传输(终端节点)、中心控制、上位机液位显示等部分组成,其系统框图如图2所示。
液位传感器采集的液位数据可通过串口传送给终端节点,终端节点再通过无线数据传输方式发送给中心控制,中心控制结合上位机应用程序来实时显示液位数据。
根据功能划分,本系统主要由终端节点和中心控制组成。终端节点主要完成液位数据的采集、控制执行和无线传输功能。中心控制主要完成数据处理、液位显示、控制命令生成及发布等功能。
终端节点主要由ZigBee节点、阀门、电源、天线、液位传感器等部分组成。本系统选用CS—E型压力液位变送器,由液位传感器采集的液位数据经终端节点通过无线传输的方式发送给中心节点。系统从中心节点接收控制信号并经上位机判断处理后,可发送相应的控制指令对阀门进行相关控制。
中心控制主要由ZigBee协调器、路由器、电源、天线、上位机液位显示等部分组成。ZigBee协调器负责将所有ZigBee节点组网,路由器用于扩展无线传输距离。终端节点将采集到的液位数据,经路由节点转发送给ZigBee协调器,协调器再通过串口方式传送到后台数据库,最后利用上位机对数据进行判断处理后显示液位数据,同时生成相应控制指令并将其发送给终端节点。
ZigBee节点和协调器芯片均选用CC2530。CC2530是一个兼容IEEE 802.15.4的真正的片上系统,可支持专有的802.15A以及ZigBee、ZigBee PRO和ZigBeeRF4CE标准。
3 系统软件设计与开发
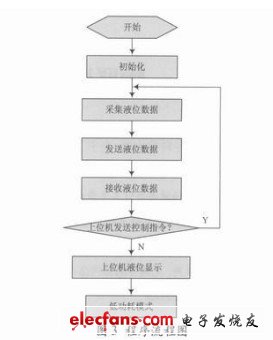
根据液位监控的要求,可分别设计基于C/S、B/S模式的监控程序,实时显示液位值、阀门开度等参数。系统总程序流程图如图3所示,监控程序效果图如图4和图5所示。

图3 程序流程图

图4 C/S模式上位机监控软件

图5 B/S模式网页监控中心
4 结语
本设计的最大意义和亮点在于将ZigBee无线传感技术引入到传统的有线模式液位过程控制实验平台,从而克服了目前有线模式的一些弊端,同时降低了安装、调试、维护的成本。这是国内首次将ZigBee无线传感技术运用到液位过程的控制实验平台,本设计可以说是过程控制领域一个重要的模式变革,必将对过程控制领域产生一定的影响。
