DSP内嵌PLL中的CMOS压控环形振荡器设计
微计算机信息 贺磊
摘要: 本文提出了一种采用四级延迟单元的CMOS环形压控振荡器,每级采用调节电流源大小,改变电容放电速度的方式,在方便的提供正交输出时钟的同时,具有2MHz至90MHz频率调节范围以及较低的功耗,可满足DSP芯片时钟系统的应用要求。
Abstract:
Key words :
1 引言
在现代高性能DSP芯片设计中,锁相环(PLL)被广泛用作片内时钟发生器,实现相位同步及时钟倍频。压控振荡器(VCO)作为PLL电路的关键模块,其性能将直接决定PLL的整体工作质量。目前,在CMOS工艺中实现的VCO主要有两大类:LC压控振荡器和环形压控振荡器。其中LC压控振荡器具有较低的相位噪声和较低的功耗,但需要采用片上集成电感,因而占用很大的芯片面积,且调谐范围较小。而CMOS环形振荡器有着频率调节范围大,芯片面积小,制造工艺简单等优点,且可以通过调整振荡器的级数,方便的获得不同相位的一系列时钟,因此在系统芯片(SOC)中有着更为广泛的应用。
本文提出了一种采用四级延迟单元的CMOS环形压控振荡器,每级采用调节电流源大小,改变电容放电速度的方式,在方便的提供正交输出时钟的同时,具有2MHz至90MHz频率调节范围以及较低的功耗,可满足DSP芯片时钟系统的应用要求。
2 VCO电路设计
在锁相环系统中VCO的作用是根据不同的控制电压.输出相应振荡频率的波形,并将其输入至分频器,从而反馈到输入端。因此理想的VCO其特性函数应为:

其中Kvco为常数,表示电路的灵敏度。而实际的VCO调节特性表现出非线性,也就是Kvco不是常数,这种非线性使锁相环的稳定性退化,因此我们希望在尽可能宽的频率调节范围内Kvco的变化最小。
2.1 整体电路结构
压控环形振荡电路的整体结构框图如图1所示,整个环路由四级延迟单元构成,每级延迟为TD,其中前三级电路接成反相的,最后一级电路正相连接,因此电路不会被锁定,且每级振荡电路的输出时钟相移为45°。

图1 压控环形振荡器的整体结构框图
这里,V是电荷泵的输出电压经低通环路滤波器去除高频成分后的直流分量,用来控制每级延迟单元的延迟时间。Venable是来自外部控制电路的使能信号,当Venable为低电平时每级差分输出的两端均为“0”,此时整个VCO电路关闭,停止振荡;当Venable为高电平,电路正常工作时,环路在连续的电压结点之闸以的延迟振荡,产生的振荡周期为8TD。只要在输入电压和延迟时间TD之问建立起线形的关系,输出信号的频率F∝1/TD,就能够实现VCO所需的输入电压和输出频率之间的线性关系。
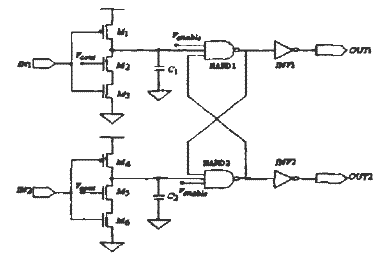
2.2单元电路设计
振荡器延迟单元的电路结构如图2所示,电路采用RS触发结构来产生差分输出的信号,这在消除静态功耗的同时,具有较好的抗噪声性能。图中的M1管和M4管分别提供对电容C1和C2充电时的电流。M2管和M5管作为电流源提供电容放电时的电流,其电流大小随控制电压V而改变,从而实现对电容放电速度的调节。另外,电容C1和C2是用源漏端接地的NMOS管制成的MOS栅氧电容,具有很高的单位面积电容值,以及较好的精度。

图2 延迟单元电路图
下面计算单元电路的延迟时间,以C1为例,当输入为高电平时,电路通过电流源M2管对电容放电,当电容两端电压降至输入与非门NAND1的翻转点Vs时,与非门输出状态转换,其状态从“0”到“1”的转换时间为:

这里由于C1电容远大于M1、M2管的漏端电容和与非门NAND1的输入电容之和,因此可忽略它们的影响,Id2为V受控制的电流源M2管的电流。
当输人为低电平时,电路通过M1管对电容进行充电。当电容充电至三输入与非门NAND1的翻转点Vs时,与非门输出并不立即改变,因为交叉耦合的另一个与非门NAND2的输出仍为低电平,需C2电容放电至Vs以下,输出才会改变。因此与非门NAND1的输出从“1”到“0”转换的时问由电容C2的放电时间决定,为:

其中Id5为受V控制的电流源M5管的电流。
为了保证每级单元电路的差分输出端有相同的延迟,电路中各个对应的晶体管具有相同的宽长比,即C1与C2相等,Id2与Id5相等,因此t1=t2,且因为C1、C2的电容值较大,相对于其充放电的时间,三输入与非门和反向器的延迟时间可以忽略不计, 因此,单元电路总的延时时间为:

设计时三输入与非门的翻转点Vs是一个需考虑的问题。为了避免随着控制电流的增大,控制管在电容放电过程中进入线性区,导致压控振荡器的线性覆盖频率范围减少,Vs的值应尽可能的大。但是如果翻转点Vs过高,会使电容放电时间变短,当Vs接近Vdd时,三输入与非门和反向器的延迟时间不再可以忽略,此时振荡器的频率调节范围将大大减少。综合以上两方面,另外考虑到噪声容限、速度、面积等因素,这里设计的三输入与非门的翻转点Vs为2.6V。
3 仿真结果与分析
根据以上分析,采用SMIC的0.35斗μmCMOS工艺模型进行仿真,图4为控制电压为2V时VCO的X1端的输出波形图。另外,由于采用的是四级环形振荡器结构,可以方便的产生正交时钟信号,其中X1端的输出波形与X3端正交,X2端的输出波形与X4端正交。图5为当VCO的控制电压在0.9V~3.5V变化时输出频率的变化图,从图中可以看到VCO的频率调节范围达到2MHz~90MHz.在中心频率46MHz附近有很好的调节线性度。当控制电压高于3V以后,频率变化呈一定的非线性,这是因为随着控制电压的增大,在电容放电过程中,控制管会进入线性区,导致控制电压对电流源变化的影响减小。但由于本文设计的VCO应用于DSP芯片的典型运行频率为40MHz,因此VCO在中心频率附近的高线性度可完全满足DSP时钟系统的要求。


图5 环形压控振荡器的电压一频率特性曲线
4 结论
本文设计了一种应用于DSP内嵌锁相环的低功耗、高线性CM0S压控环形振荡器。电路采用四级延迟单元能方便的获得正交输出时钟,每级采用RS触发结构来产生差分输出信号,在有效降低静态功耗的同时.具有较好的抗噪声能力。在延迟单元的设计时。综合考虑了电压控制的频率范围以及调节线性度,选择了合适的翻转点。 仿真结果表明.电路叮实现2MHz至90MHz的频率调节范围,在中心频率附近具有很高的调节线性度,可完全满足DSP芯片时钟系统的要求。
本文作者创新点:本文作者设计的CMOS压控环形振荡器电路采用四级延迟单元能方便的获得正交输出时钟.每级采用RS触发结构来产生差分输出信号,在有效降低静态功耗的同时,具有较好的抗噪声能力。在延迟单元的设计时。综合考虑了电压控制的频率范围以及调节线性度,选择了合适的翻转点。
此内容为AET网站原创,未经授权禁止转载。
