苹果新专利曝光!MacBook变无线充电板?
2021-01-07
来源:拓墣产业研究
苹果公司的创新能力在业界可谓首屈一指,当年“刘海”屏和取消3.5mm耳机口的设计一经推出,便受到其他手机厂商的争先模仿。
近日,苹果一项新专利的公开,引起网友广泛关注。
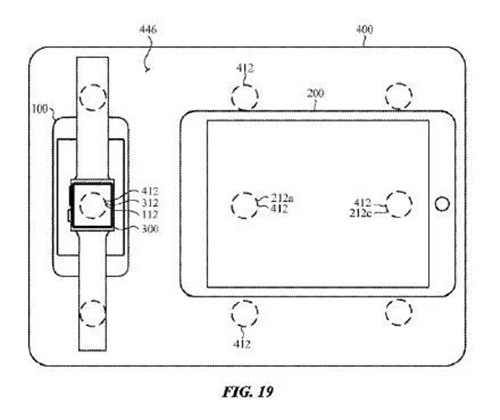
从外媒公布的这项新专利来看,苹果计划让MacBook具备为iOS产品无线充电的能力。
据专利描述,用户可使用MacBook的后盖、掌托或触控板为iPhone、Apple Watch进行无线充电。

此外,专利还提到iPad为iPhone和Apple Watch充电的计划。
有网友调侃道,请问,这样环保吗?
虽然,这项专利可以为拥有多款iOS设备的用户提供便捷的充电体验。但就使用场景来看,该方案也存在着弊端。例如,如何解决因多设备同时充电而引发的笔记本温度过高、散热不足等问题。
值得注意的是,虽然苹果在去年11月正式发布搭载Apple M1芯片的新款Mac产品。但有消息指出,搭载12核Apple Silicon的全新MacBook Pro将于今年3月发布,其中16英寸的MacBook Pro则有望搭载16核版本。

此外,MacBook Pro还将搭载Mini-LED显示屏。
与OLED屏相比,Mini-LED有助于将产品做得更薄、更轻,同时带来更宽广的色域及更高的动态范围,可改善局部调光,以获得更真实的黑色和出色的对比度。
不过由于Mini-LED显示屏造价昂贵或仅在高配版上使用。

本站内容除特别声明的原创文章之外,转载内容只为传递更多信息,并不代表本网站赞同其观点。转载的所有的文章、图片、音/视频文件等资料的版权归版权所有权人所有。本站采用的非本站原创文章及图片等内容无法一一联系确认版权者。如涉及作品内容、版权和其它问题,请及时通过电子邮件或电话通知我们,以便迅速采取适当措施,避免给双方造成不必要的经济损失。联系电话:010-82306118;邮箱:aet@chinaaet.com。
