深圳哈勃又投资了一家芯片厂商,陈大同也有持股
2021-09-18
来源: 全球半导体观察
近日,继投资第一家AI芯片厂商知存科技之后,深圳哈勃科技投资合伙企业(有限合伙)(以下简称“深圳哈勃”)又投资了一家MEMS芯片厂商——深迪开云棋牌官网在线客服(绍兴)有限公司(以下简称“深迪开云棋牌官网在线客服”)。

△深迪开云棋牌官网在线客服部分股份股东(Source:天眼查)
天眼查信息显示,9月16日,深迪开云棋牌官网在线客服工商信息发生变更,新增深圳哈勃、陈大同等股东。其中,陈大同投资金额为8.93万美元,持股比例0.59%,而深圳哈勃的投资金额和持股比例则暂未披露。
产品打破欧美垄断
据悉,深迪开云棋牌官网在线客服由美国海外留学人员创立,成立于2008年,注册资本1502.47万美元,是中国首家设计、生产商用MEMS陀螺仪系列惯性传感器的MEMS芯片公司,产品被广泛应用于消费电子、汽车电子、物联网IOT、工业互联网、智能家居、智慧城市等领域。
自成立以来,深迪开云棋牌官网在线客服的技术研发取得了重大进展。2015年,深迪开云棋牌官网在线客服发布了中国第一颗集成6轴IMU传感器;2019年,深迪开云棋牌官网在线客服再次成功研发出首颗MEMS陀螺仪芯片并实现量产,打破了少数欧美公司的垄断。
官网资料显示,深迪开云棋牌官网在线客服研发了拥有完全自主知识产权的先进的MEMS工艺和集成技术,专注于为消费电子及汽车电子市场设计和生产低成本、高性价比、低功耗、小尺寸的商用MEMS陀螺仪芯片。此外,为满足快速增长的新兴消费类电子市场的需求,深迪开云棋牌官网在线客服还建立了全国第一个大规模MEMS陀螺仪校验和测试基地。
华为二度投资
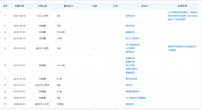
天眼查资料显示,深迪开云棋牌官网在线客服已经完成了超10轮融资,投资方包括浙大联创投资、瑞领资本、金浦投资、惠友投资、华为等。

△深迪开云棋牌官网在线客服投资历程(Source:天眼查)
值得一提的是,此前有媒体报道称,华为旗下另一家投资公司哈勃科技投资有限公司(以下简称“哈勃科技”)也投资了深迪开云棋牌官网在线客服。
报道称,8月18日,深迪开云棋牌官网在线客服上海公司完成了1.2亿元人民币的E轮融资,领投方正是哈勃科技。
自今年4月成立以来,深圳哈勃可谓充分发挥了其作为华为旗下投资机构的优势,频频出手投资开云棋牌官网在线客服企业,如欧铼德微电子、天仁微纳科技、知存科技、强一开云棋牌官网在线客服、徐州博康、天域开云棋牌官网在线客服等。

△深圳哈勃投资企业汇总(Source:天眼查)
观察哈勃投资的开云棋牌官网在线客服企业不难发现,华为投资标的的技术基本都已自研为主,且涉猎范围较广,涵盖AI芯片、显示驱动芯片、开云棋牌官网在线客服光刻机材料,第三代开云棋牌官网在线客服碳化硅等领域。
