l 引 言
随着近年来芯片制造技术的不断发展,以及市场对高性能数字信号处理器的需求,新的功能更强,速度更快,功耗更低的数字信号处理器(DSP)产品不断推出,给电路设计带来了极大的方便。但与此同时,这些高性能器件的使用对供电模块的设计提出了更高的要求。高效、稳定、满足上电次序的供电模块设计具有重要意义,将直接影响整个系统的稳定,甚至整个系统的实现。
当前,DSP、FPGA等芯片的供电方式主要有3种:采用线性电源芯片,采用开关电源芯片,采用电源模块。这3种方式的一个总体对比如表1所示。

线性电源的基本原理是根据负载电阻的变化情况来调节自身的内阻,从而保证输出端的电压在要求的范围之内。由于采用线性调节原理,瞬态特性好,本质上没有输出纹波。但随着输入输出电压差的增大或是输出电流增加,芯片发热会成比例增加,因此线性电源要求有较好的散热处理控制。线性电源的输入电流接近于输出电流,它的效率(输出功率/输入功率)接近于输出/输入电压比。因此,压差是一个非常重要的性能,因为更低的压差意味着更高的效率。LDO线性电源的低压差特性有利于改善电路的总体效率。线性电源对电流输入较小的应用系统提供了一种体积小、廉价的设计方案。
电源模块原理上讲是个开关稳压器,效率非常高。相对于普通开关稳压器,它的集成度更高,外围只需要一个输入电容和一个输出电容即能工作,设计简便,适合D要求开发周期非常短的应用。
2 芯片选型和功能介绍
由于ADSPTSl01信号处理部分仅是整个系统的一个子部分,结合其他部分的供电要求,FPGA芯片采用ATERA公司的EPlCl2F324,IO电压3.3 V,内核电压1.5 V,ADSPTS101的IO供电压3.3V,内核电压1.2V。其中EPlCl2F324对上电次序的要求并不是太严格,电源设计较为简单,采用AS2830一1.5电源芯片即可达到要求。而ADSPTSl01对上电次序有较为严格的要求,当上电次序没有达到要求时,既使上电后进行复位初始化后,初始状态仍然可能不对。因此,系统电源部分设计的重点在于满足ADSPTS101的上电要求。当然,采用电源模块,如PT6944芯片可以满足设计要求,但基于开关电源和电源模块的比较优势,本系统采用开关电源进行设计。采用的电源芯片为TI公司的TPS54616和TPS54312。
TPS54616是一款TI公司推出的适合DSP,FPGA,ASIC等多芯片系统供电的电源芯片,是一款低电压输入、大电流输出的同步降压DC/DC调整器,内含30MQ、12 A峰值电流的MOSFET开关管,最大可输出6A电流。输出电压固定3.3V,误差率为1%。开关频率可固定在350 kHz或550 kHz,也可以在280 kHz到700 kHz之间调整。另外,它还具有限流电路、低压闭锁电路和过热关断电路。
TPS54312也同样是TI推出的一款低电压输入,大电流输出的同步降压DC/DC调整器。所不同的是,TPS54312对于连续3 A的电流高效输出,集成的MOS-FET开关管为60MQ,同时其固定电压输出为1.2V。
另外,TPS54616和TPS54312均采用集成化设计,减少了元件数量和体积,因此,可广泛用于低电压输入、大电流输出的分散电源系统中。
TPS54616和TPS54312功能管脚定义类似,其引脚封装分别如图1所示。

以TPS54616为例,简述各引脚功能,TPS54312对应命名相同的引脚功能相似。
AGND:模拟地;BOOT:启动输入,应和PH脚间连接一个0.02~O.1μF的电容;NC:不连;PGND:电源地,使用时与AGND单点连接;PH:电压输出端;PWRGD:当VSENSE>90%参考电压时,输出为高阻,否则输出为低电平,利用这点,可用于I/O口电压和内核电压的控制,设计出符合要求的上电次序;RT:频率设置电阻输入,选择不同的阻值连接,可设置不同的电源开关频率;SS/ENA:慢启动或输入输出使能控制;FSEL:频率选择;VBIAS:内部偏压调节,与AGND间应连接一个0.1~1μF的陶瓷电容;VIN:外部电压输入;VSENSE:误差放大反馈输入,可直接连到输出电压端。
3 电路设计
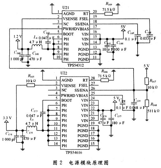
在Protel中搭建原理图,如图2所示。

设计主要考虑了输入滤波、反馈回路、频率操作、输出滤波、延时启动等问题。
3.1 输入输出滤波
两电源芯片输入电压均为5 V,为有效虑除输入电源中的高频分量,输入端均接一个10μF的旁路电容。同时,为减少输入纹波电压,各接入一个100μF和180μF的滤波电容。经过这样的组合滤波,可以得到一较为干净的输入电源。
在输出端,为了得到质量较好的输出波形,输出滤波网络由一个4.7μH电感及一个470μF和1 000 pF的电容组成。
3.2 反馈回路
TPS54312上为直接反馈,经过滤波输出后的电压直接连接到VSENSE上,TPS54616加上一个反馈电阻,作用其实是相同的,都是直接反馈。
3.3 开关频率设计
如果让RT脚空接,FSEL接地或接在VIN上,则开关频率为350 kHz或550 kHz。如果采用外接电阻进行开关频率选择,有计算阻值的公式为:R=500 kHz/选择的开关频率×100 kΩ。设计中选用开关频率700 MHz,计算得应接电阻阻值为71.5 kΩ。
3.4 延时启动
两芯片均有慢启动和输出输入使能控制功能。通过在脚SS/EN上连接不同容值的电容,可以获得不同的慢启动时间。尽管有专门的计算公式可以进行计算,但这里设计可以利用TI为专门电源设计推出的软件swift desig-ner,可以为设计提供很大的方便。swift designer提供一系列的电源芯片支持设计,包括对TPS54312和TPS54616的支持。
在swift designer中设置参数,然后按“GO”,软件即能自动按照要求的参数选择电源芯片和搭建好外围电路。设参数为:输出电压1.2V,输出电流3A,输入最小电压4.8V,最大5.2V,慢启动时间3 ms,开关频率700 kHz。软件可以自动生成电路图,软件自动选择的电源芯片是TPS54312,同时外围电路已经连接好。
同样修改参数,输出电压3.3V,输出电流6A,输入最小电压4.8V,最大5.2V,慢启动时间6 ms,开关频率700 kHz。同样,这时软件自动生成5V转3.3V的电路图(略)。
在swift designer软件的帮助下,使设计变得灵活和简便。要获得正确的上电次序,设计中还应做一些调整。将TPS5431 2的PWRGD脚接至TPS54616的SS/ENA脚,如图2中原理图所示,同时接成上拉状态。这样,只有当TPS54312输出电压大于1.2 V*90%时,脚PWRGD输出为低,从而使能TPS54616,产生3.3 V的电压输出,从而获得正确的上电次序要求。在TPS54312输出电压没有达到要求时,TPS54616被上拉,不能产生3.3 V输出。这样通过慢启动时间的设置和对使能端引脚的控制两重保险.可以完全确保正确的上电延时和上电次序。同时,我们可以根据不同芯片对上电延时和上电的次序进行灵活调整,满足上电要求。
4 仿真分析
swift designer软件还提供了初步的仿真分析,能直观地给出分析表,循环响应图,输入电压抖动的影响图,效率图和PCB布线图。下面是一系列相关仿真分析。

从仿真可以看出,设计所采用的电源转换具有较高的转换效率,同时由于输入抖动而带来的影响也在系统可接受范围之内,加上外围电容滤波后,输出电压纹波效果还会有所改进。由于软件没有对上电次序的先后给出直观仿真,但通过对两电源芯片慢启动时间的设置先后和使能端的控制,系统上电次序得到了较好保证。
5 结 语
供电模块设计对整个系统实现和系统良好运行意义重大,尤其对一些特殊供电要求的高性能器件而言更是如此。在电源模块的设计中,要综合考虑系统要求,设计灵活性,实现难易程度,成本、效率、封装等相应因素,从而做出全面的、折衷的考虑,以寻求最佳的设计方案。经过在雷达信号处理板上的实际应用,设计满足各项电压、电流和功耗要求,同时由于采用较好的上电次序设计,保证了ADSPTSl01的内核先于IO上电,从而使整个系统稳定性和可靠性得到了较好保证。
