1 引言
根据CDG最新发布数据,目前全球的CDMA用户数已达4.9亿, 全球已有Veriozon、Sprint、KDDI、中国电信、LG Telecom、Telus Mobility、Skytel等运营商部署了70个HRPD Rev.A 商用网络,38个网络在部署当中,HRPD 用户数达1.2亿。随着多媒体数据业务的发展,各种新的业务形式不断涌现,用户对系统带宽的要求也不断提高,为了追求更高的业务峰值速率,以及与HSPA的抗衡,部分CDMA运营商(如KDDI、中国电信)已经制定了向HRPD Rev.B 的升级计划,而部分运营商打算直接从HRPD Rev.A转向LTE。
2 HRPD技术演进
2.1 标准演进路线
HRPD属于3GPP2标准阵营的技术,其标准演进路线如图1所示:

图1. HRPD标准演进路线
在路线图中,HRPD从版本0沿着Rev A、Rev B、Rev C的路线演进发展:
Rev 0支持的前、反向峰值速率分别为2.4Mbps和153.6kbps。该版本的提出是为了提供高速数据业务,主要是针对Best Effort业务,特别是为不对称的高速下载业务开发的。
Rev A支持的前、反向峰值速率分别为3.1Mbps 和1.8Mbps,该版本增强了QoS控制机制,减小了时延(低传输时延、低切换时延),支持VoIP,可视电话(VT)、PTC等实时性、低时延业务。
Rev B标准于06年3月发布,该版本采用了多载波技术,前、反向峰值速率可达到73.5Mbps 和27Mbps(捆绑15个载波)。EV-DO Rev B的特点是多载波捆绑,在前向引入更高阶的调制方式(64QAM)和更大的包长(6144bits、7168bits、8192bits),单载波前向峰值速率可以达到4.9Mbps,单载波反向峰值速率不变,仍为1.8Mbps。RevB技术的采用可以提高用户的业务速率(载波数×单载波峰值速率),有利于用户使用体验的提高。EV-DO REV A向RevB演进的方式有两种:
1) 基于CSM6800的演进
原来的Rev.A系统不需硬件升级,只需对BTS和BSC进行软件升级。这种升级方式不支持64QAM高阶调制和DTX/DRX,单载波的前向峰值速率与DO RevA 相同,为3.072Mbps。
2) 基于CSM6850的演进
原来的RevA系统需要更换BTS信道板为CSM6850芯片信道板,并对BTS和BSC进行软件升级。这种升级方式支持64QAM高阶调制和更大的包长(6144bits、7168bits、8192bits)、单载波的前向峰值速率为4.9Mbps,芯片支持DTX/TRX,允许终端在没有数据发送时关掉PA、Tx/Rx链路,可延长电池使用寿命。
Rev C标准, 3GPP2标准组织于09年3月开始相关标准的制定工作,采用OFDM、MIMO、Closed-Loop MTD等技术,支持的下行峰值速率为18.74Mbps/1.25MHz,反向峰值速率为4.3Mbps/1.25MHz,计划于2010年2月发布。
UMB标准,3GPP2曾经进行了相关标准的制定,并于2007年第二季度正式发布了UMB的空口标准C.S0084 -0 v1.0, 由于另一个与UMB 对等的3GPP标准LTE获得了多数运营商的支持,在向UMB还是向LTE演进的问题上,各主要的CDMA运营商都倾向于向LTE演进。去年底3GPP2标准组织正式放弃了UMB标准。
在另一标准阵营—3GPP中,与HRPD对等的标准技术沿着HSDPA(R5)、HSUPA(R6)、HSPA+(R7、R8、R9)的路线演进,其中第二阶段的HSPA+标准(R8标准)已经分布,第三阶段的标准在制定中(R9标准)。 HRPD和HSPA主要的技术指标比对如下:
表1. HRPD 与HSPA主要指标对比分析

2.2 HRPD网络演进发展
虽然HRPD标准的发展是从Rel0开始,经历Rev A、RevB、RevC向前演进发展,但是由于HRPD Rev.A是HRPD Rel0的增强,2006年之后才开始部署HRPD网络的运营商都会跨过HRPD Rel.0 直接部署HRPD Rev.A网络,HRPD Rev.B 主要是在HRPD Rev.A的基础上采用多载波捆绑技术进一步提升峰值速率,在是否升级到Rev.B网络的抉择上,各运营商会有不同的选择,部分运营商不考虑向HRPD Rev.B的升级,计划直接从HRPD Rev.A网络转向LTE,各主要的CDMA运营商目前均未考虑向HRPD Rev.C演进。因此,HRPD网络的演进发展将如图2所示:

图2. HRPD网络演进路线
在HRPD向LTE演进的过程中,1xRTT/ HRPD网络和LTE网络将会共存一定的时期,由于LTE对语音业务的支持还需要一段较长的时间,而且早期LTE也只是在热点地区部署,预计1xRTT/ HRPD网络与LTE的共存期将会比较长。因此,HRPD-LTE之间的互操作将是CDMA网络运营商在向LTE演进过程中需重点考虑的问题。
3 HRPD-LTE互操作
3.1 标准情况
3GPP标准组织在制定LTE 标准时考虑了与其他非3GPP系统(包括CDMA系统)的互连,要求EPS(LTE无线网E-UTRAN +核心网 EPC 统称为EPS)支持多种不同接入系统,对用户提供多接入网络环境。3GPP制定的互操作标准主要包括TS22.278、TS23.402、TS23.216、TS23.276、TS23.272、 TS23.203、TS29.213、TS29.214、TS29.273、TS29.275、TS29.276、TS29.277、TS36.331、 TS36.413等,R8版本主要标准已于今年3月冻结。
为了支持与3GPP E-UTRAN的互联互通,3GPP2标准组织也开展了互操作的系列标准制定工作,将HRPD增强为eHRPD,Evolved High Rate Packet Data。目前基于HRPD Rev.A 的互操作1.0版本标准已经发布,主要包括:
Ÿ 2008年1月发布的互操作需求规范S.R0129-0 v1.0
Ÿ 2009年5月发布的空口规范C.S0087 -0 v1.0
Ÿ 2009年3月发布的IOS规范A.S 0022-0 v1.0
Ÿ 2009年4月发布的核心网络规范X.S0057-0 v1.0
根据各运营商的网络情况,除了存在基于HRPD Rev.A 的eHRPD系统与LTE网络的互操作场景外,还存在HRPD Rev.B与LTE的互操作场景, 08年10月KDDI首先提出了支持基于HRPD Rev.B 的eHRPD系统与LTE互操作的标准制定需求,3GPP2标准组织已经开展相应的标准工作,互操作规范S.R0129-A v1.0已于2009年4月发布,其他标准计划2009年底发布。
3.2 互操作网络架构
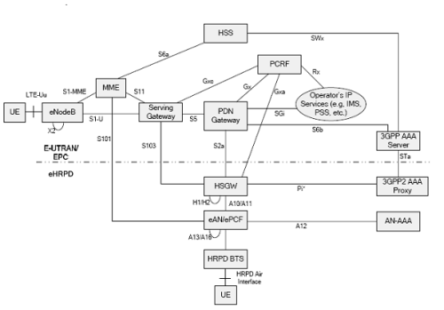
3GPP E-UTRAN和3GPP2 eHRPD的互操作架构(非漫游)如图3所示,eHRPD接入网通过 HSGW与3GPP的 EPC核心网互连,并通过S101、S103接口实现E-UTRAN-eHRPD的互操作(如果eHRPD与E-UTRAN之间不要求优化切换,则不需 S101,S103接口)。图中虚线以上的接口和网元标准都是由3GPP负责制定,虚线以下的网元和接口标准由3GPP2负责制定。主要的网元和接口功能如下:

图3. E-UTRAN - eHRPD 互操作网络架构
Ÿ eNodeB:LTE系统的无线网(E-UTRAN)网元,主要具有无线资源管理、IP头压缩和用户数据加密、MME选择、用户面数据路由至S-GW、寻呼和广播消息调度和发送、测量和测量报告配置、UE Bearer级的上下行速率控制、准入控制等功能。
Ÿ MME:Mobility Management Entity ,LTE系统的核心网(EPC)网元,主要具有NAS信令、保存与管理UE上下文、UE接入认证、空闲态UE的跟踪和可达性管理、S-GW和P-GW选择、HRPD节点选择、HRPD信令消息透传、E-UTRAN与HRPD接入之间的状态信息传递等功能。
Ÿ S-GW:Serving Gateway,LTE系统的核心网(EPC)网元,主要具有分组包路由与转发、eNodeB间切换时作为本地移动性锚点、传输层上下行数据包的标签、上下行承载绑定、PMIPv6 MAG(移动接入网关)、DHCPv4 (relay) 和 DHCPv6 (relay)等功能。
Ÿ P-GW:Packet Data Network Gateway,LTE系统的核心网(EPC)网元,主要具有数据路由和转发、异构网络切换时的IP锚点、UE IP地址分配、传输层上下行数据包的标签、上下行承载绑定、PMIPv6 LMA、DSMIPv6 Home Agent、MIPV4 Home Agent等功能。
Ÿ HSGW :HRPD Serving Gateway,具有跨eAN切换的移动性管理锚点,分组路由、转发、传递,上下行计费,向PCRF事件报告,基于策略信息的上下行承载绑定,基于网络的移动性管理,PMIPv6 MAG,IPv4和IPv6地址分配,用户接入认证和授权等功能。
Ÿ eAN/ePCF:eHRPD系统的无线网节点,支持与E-URRAN 的互操作,兼容HRPD和eHRPD模式,在传统AN功能的基础上增加eAT和HSGW之间的GKE(Generic Key Exchange)功能、eHRPD-HRPD之间的idle态切换、eHRPD-E-UTRAN之间的idle态、激活态切换等功能。
互操作相关的主要接口是S101、S103:
Ÿ S101接口:是MME与eAN/ePCF 之间的信令接口,支持以下信令:
² UE经过E-UTRAN传输eHRPD空口信令
² UE经过eHRPD传输E-UTRAN空口信令
² 切换时S103 Data forward隧道的建立
² EUTRAN和eHRPD间的切换信令
Ÿ S103接口:是S-GW和HSGW之间的承载接口,实现S-GW和HSGW间的Data Forwarding隧道功能,支持GRE封装。当UE由E-UTRAN切换到eHRPD系统时,转发数据通过隧道由S-GW发向HSGW。
4 结束语
从2002年第一个HRPD Rel. 0 网络开始商用至今,CDMA商用网络已经发展到成熟的HRPD Rev.A阶段,相关的HRPD标准技术则发展到了Rev.C阶段(标准制定中),但是主流CDMA运营商都对Rev.C不感兴趣,而是把精力放在了 HRPD向LTE的演进上。在向LTE的演进发展问题上, HRPD-LTE的互操是运营商关注的焦点,北美第一大移动运营商Verizon计划今年10月开始eHRPD和LTE网络互连的现网试验,如果试验结果理想将可能加速HRPD网络向LTE的演进进程。
