1 引 言
信号源是雷达系统的重要组成部分。雷达系统常常要求信号源稳定、可靠、易于实现、具有预失真功能,信号的产生及信号参数的改变简单、灵活。本文采用DSP和CPLD来设计信号源的控制部分,一方面能利用DSP软件控制的灵活性,另一方面又能利用CPLD硬件上的高速、高集成度和可编程性。使用这种方法可以充分利用软件支持来生成和加载任意波形数据,并能方便地实现对信号参数的控制和对波形数据的随意修改,同时又能保证信号产生的高速、灵活可控。

2 系统结构
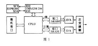
采用波形存储直读法,即通过对存储的波形采样数据进行数模变换,直接生成模拟信号的一种方法。图1为信号源的系统结构。本信号源可工作于联机和脱机两种方式。联机工作时,波形数据从微机加载,由DSP控制,通过CPLD内的数据通道写入SRAM,经回读、校验后,从SRAM内高速送入到数/模转换器件产生雷达信号。脱机工作时,波形数据可在系统上电时由EEPROM加载,EEPROM中可存放一组波形数据,也可存储多组数据以方便应用。
3 硬件实现
3.1 TMS320F206与EEPROM的接口设计
在实际系统中,DSP采用TI公司的TMS320F206芯片,EEPROM采用Microchip公司的24LC256 CMOS串行EEPROM(图2)。TMS320F206属于定点、静态CMOS数字信号处理器。它采用先进的哈佛结构,具有片内外设、片内存储器及专用的运算指令集,这些特点使得此器件使用灵活方便。24LC256工作电压为2.5V~5.5V,容量为32K×8bit,为两线串行接口总线,标准与I2CTM兼容。SCL为24LC256的时钟输入管脚,SDA为其串行地址/数据输入/数据输出管脚。24LC256提供读顺序地址内容的操作方式,其内部的地址指针在每次读操作完成之后加1,此地址指针允许在一次读操作期间,连续顺序地读出整个存储器的内容。其时序如图3所示。

设计中将TMS320F206的通用I/O端口IO2模拟出SCL的时钟,IO3负责将数据写入和从24LC256读出(TMS320F206与24LC256的接口如图1所示)。脱机工作时,其流程如图4。
3.2 CPLD设计
可编程逻辑器件采用XILINX公司的CPLD,型号为XC95288XL-6TQ144C。该器件为144-pin TQFP封装,内部有288个宏单元,最高工作时钟为151MHz。XC95288XL内部逻辑分为三部分:TMS320F206与微机接口的通信、高速地址计数、SRAM片选读写信号的产生。
3.2.1 TMS320F206经过CPLD与微机接口的通信
TMS320F206与微机接口的通信采用并行接口协议(EPP),主要完成从微机加载数据到SRAM、将数据从SRAM回读到微机,整个过程对于并行接口来说采用查询方式,对于TMS320F206来说采用中断方式。TMS320F206使用引脚接收由CPLD发出的中断,通过设置TMS320F206片内寄存器IRM与ICR,使TMS320F206响应中断而不响应。其时序如图5和6所示。

脱机工作状态下,从并口加载数据时,微机将数据发送到并口,并发出低脉冲,CPLD接收STB到后,置BUSY=1,发出中断信号,TMS320F206接收到中断后,控制CPLD锁存数据,并将数据写入SRAM,置BUSY=0;从并口回读数据时,微机设置并口为输入状态,然后发出AUTOFEEDXT低脉冲,CPLD接收到后,置=1,发出中断信号给TMS320F206,TMS320F206控制CPLD从SRAM读取数据并送到并口,置=0。
