您的位置:电子技术应用
电路图频道
电源电路
电池电源
点击查看ChinaAET Qorvo QSPICE知识专区
网络安全+DeepSeek技术沙龙
欢迎查看AET新能源汽车电子专题
技术沙龙-密码技术与数据安全
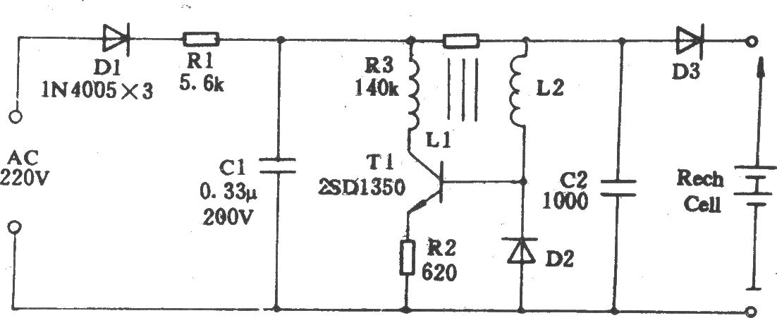
松下剃须刀充电电路
2016-12-28 11:00
关键词:
充电器
电路
剃须刀
松下剃须刀充电电路
进入了解AET工业互联网专题
新型储能技术专题
电子技术应用杂志过刊一览
2025年数据要素治理学术研讨会
相关内容
Microchip推出maXTouch®触摸屏控制器系列新产品
简化电动汽车充电器和光伏逆变器的高压电流检测
英飞凌推出高度集成的新型无线充电发射器IC,为功率高达50 W的充电应用提供理想选择
意法半导体ST-ONE系列USD PD控制器功率提高到140W
意法半导体USB供电EPR整体方案获USB-IF认证单个电源适配器输出功率高达140W
对电动汽车充电原理及充电过程予以介绍
65W-1A2C接口氮化镓(GaN)充电头
解析电动汽车充电基础设施及技术的发展趋势
充电器相关电路图
更多 >>
555手扶拖拉机照明充电器电路
低成本、高可靠性的电瓶车充
镍镉电池自动充电放电器电路
最简单标准的Li-ion电池用充电
凌特锂电池智能充电和DC-DC升
智能脉冲电动自行车充电器电
上传电路图
电路图分类
基础电路
模拟电路
数字电路
接口电路
线性放大
555电路
信号产生
电源电路
稳压电路
开关电源
电池电源
综合电源
传感器电路
温度湿度压力
速度角度位移
气体传感器
液体传感器
物理|光学
消费电子电路
手机电路
电脑电路
消费产品
通信电路
电话电路
遥控电路
无线通信
卫星通信
家用电器电路
厨房电器
房间电器
空调冰箱
电子钟表
音视频电路
音频电路
视频电路
游戏娱乐
控制电路
开关控制
定时控制
保护电路
综合控制
微机单片机电路
光电应用电路
新潮电子电路
电机控制电路
检测测量电路
医疗电子电路
安防电子电路
交通工具电路
工业自动化电路
PLC电路
电力电工电路
特殊应用电路
电子维修
其他行业电路
Copyright © 2005-
2024
华北计算机系统工程研究所版权所有
京ICP备10017138号-2
map