中心议题:
解决方案:
- 智能家居安全监控系统的硬件设计
- 只能家居安全监控系统的软件设计
为实现对家庭安全的实时监控,提出了智能家居远程安全监控系统设计方案。系统基于ZigBee技术和GSM /GPRS网络进行设计,能够通过彩信和短信发出监控图像和报警信息,接收远程指令;同时引入了多种传感器,实现了对家用电器的远程控制,实现了智能家居远程监控。重点阐述了系统的硬件、软件设计以及系统的性能测试,实现了多个监控装置的无线联网。实验结果表明,所设计的系统能够实现安全、便捷的智能家居远程监控,并具有较高的可用性和可靠性。
0 前 言
智能家居又称智能住宅,正朝着具备无线远程控制、多媒体控制、高速数据传输等功能的方向发展,其关键技术为兼容性强的家庭控制器和满足信息传输需要的家庭网络。目前,传输网络多采用综合布线技术,限制了系统的应用场所,而且费用较高。采用无线方式构建灵活便捷的智能家居安全监控系统,成为当前的研究热点。
目前,应用于智能家居的无线通信技术主要包括: Ir2DA红外线技术、蓝牙技术和ZigBee技术等。IrDA属于短距离、点对点的半双工通信方式,使用不便且失误率高,不适用于家庭的组网方式;蓝牙技术则因为网络容量有限,成本较高,不适于节点较多的家居网络应用。
本研究通过采用传输范围适中、安全可靠、网络容量较大的ZigBee技术,设计智能家居远程安全监控系统。
1 系统架构
1. 1 ZigBee网络拓扑选型
ZigBee是一种近距离、低复杂度、低功耗、低成本的双向无线通信技术,主要适用于自动控制和远程控制领域。IEEE802. 15. 4 是ZigBee技术的基础,与高速率个人区域网、蓝牙或802. 11x无线局域网相比,ZigBee协议更为简单实用。
ZigBee网络的拓扑结构主要有3种:星型、树状和网状网络。网状网络容错能力高、自适应力好、传输距离长,但其复杂度也最高;星型网络具有简洁和低功耗等特点,使用简单,适用于家庭的小规模、低复杂度的应用;树状网络则介于两者之间。在智能家居中应用星型网络,可获得较高的性价比。
1. 2 系统构成
本系统采用模块化设计方案。以嵌入式系统主板为核心,通过CMOS摄像头对关键部位进行安全监测,通过手机传递安全信息和图像彩信,并对家用电器进行远程控制,利用ZigBee模块实现家用电器、系统主板和烟雾、温度、煤气等传感器的无线联网。
系统主板的核心控制器为S3C44B0X型32位微控制器,对数据进行处理和判别,并通过彩信模块和Zig2Bee模块发出信息和指令;扩展板用以接入烟雾、红外、煤气等家庭安防状态传感器;彩信模块将系统控制器所发出的家庭安防状态信息发送至用户手机,并接收用户发送的短信指令; ZigBee模块负责系统主板、扩展板和家用电器之间的数据交联。系统结构如图1所示。

图1 基于ZigBee的智能家居安全监控系统
2 系统硬件设计
2. 1 串口摄像机
串口摄像机采用了优化的串行通讯协议,支持分包传输,使主机可以配置更小的缓存,同时提供了TTL电平和RS232 电平两种输出。通过串行通信实现与主机之间的指令和数据的传输,主机可对其进行波特率、图像分辨率、发送方式等状态参数的设定。
2. 2 彩信模块设计
彩信模块内置彩信协议,是集SMS、MMS于一体的GSM /GPRS模块。它采用AT指令进行模块控制,通过RS232接口进行控制命令和数据的传输。其内部集成600 KB 的Flash存储空间,可供发送MMS信息时实现图片的多张上传。
2. 3 系统控制器
本系统采用32位R ISC处理器S3C44B0X,具有丰富的功能和外设,包括: 8 KB Cache、内部SRAM、LCD控制器、2通道UART、4通道DMA、带有PWM功能的5通道定时器等。该处理器在各方面的性能均能满足系统的需要,并且在同类产品中的性价比也是较高的。
2. 4 ZigBee收发器件
本系统采用CC2430芯片作为ZigBee无线通信模块。CC2430整合了ZigBee射频(RF)前端、内存和微控制器。
CC2430集成了符合IEEE802. 15. 4 标准的2. 4GHz的RF无线电收发机,支持数字化的RSSI/LQ I,具有CSMA /CA功能和强大的DMA功能、电池监测和温度感测功能,同时具有强大和灵活的开发工具。
2. 5 系统硬件接口设计
ZigBee模块通过RS232 接口与系统主板通过串口进行通信; ZigBee模块之间以无线网络的形式进行数据传输,其中与传感器相连的ZigBee模块利用其普通I/O端口作为传感器信号的接收端口;与家用电器相联的ZigBee模块通过继电器控制家用电器的开关运行。系统硬件的接口设计与连接如图2所示。

图2 系统硬件接口设计
串口摄像机和彩信模块使用RS232 接口与S3C44B0X处理器进行数据和指令的传输。
3 系统软件设计
整个系统软件开发采用模块化设计方案,具体可分为3个部分: ZigBee无线收发、彩信及短信收发和图像采集处理。
3. 1 ZigBee无线网络的应用
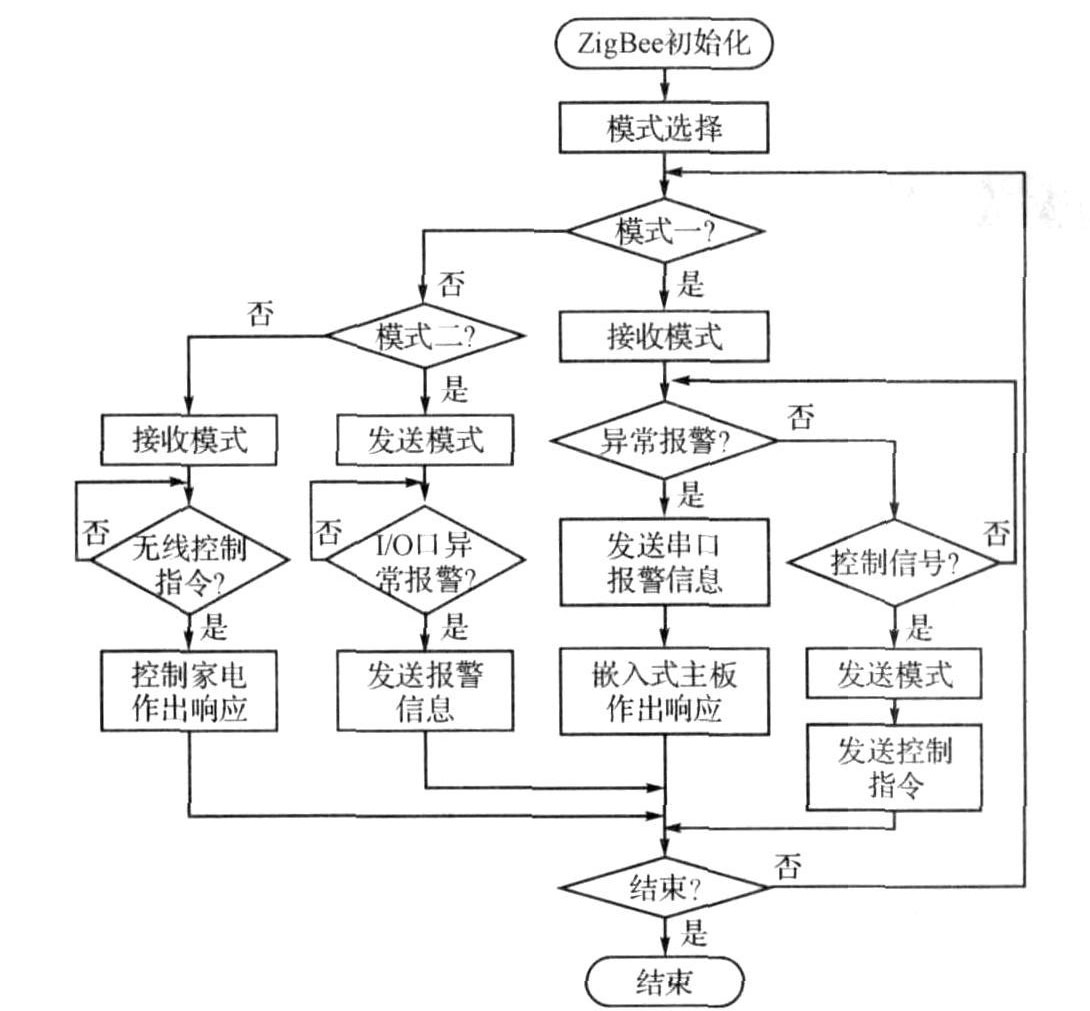
无线通信的软件设计主要包括:系统异常报警信号的传输和接收、ARM处理器和ZigBee模块之间以及各ZigBee模块之间的数据传输控制等, ZigBee无线通信模块软件流程图如图3所示。其中,根据在网络中所处的层次,将ZigBee模块设定为3个运行模式:
模式1.与系统主板相连。用来接收其他ZigBee模块发送的报警信息和将主板给出的控制信息发送给其他ZigBee模块,是主板与外部设备进行无线通信的核心枢纽。
模式2.通过继电器与家用电器相连,置于接收状态。当接收到其他ZigBee模块发送过来的控制指令时,控制家电执行相应的开关动作。
模式3.通过继电器与传感器相连,置于发送状态。当ZigBee模块接收到传感器的报警信号时,将报警信号发送给其他ZigBee模块。
模块的模式可通过拨码开关进行设定。不同模式的模块负责各层间数据和指令的传输,构成了家庭安防局域网。

图3 无线通信模块的软件流程
3. 2 彩信及短信的收发实现
彩信模块可实现SMS和MMS的收发功能,通过AT指令进行控制。首先要进行模块初始化配置,如设置接入点、IP设定、设置MMS通信模式、设置服务器网址等。
Xmodem协议的开始标志是文件接收方发出"NAK"字节,文件发送方在收到该信号后发送数据帧,双方开始正常通信过程。基于Xmodem协议上传图片的流程如图4所示。

图4 发送文件流程
3. 3 异常状态检测
本系统能够通过图像方式,对外人入侵、火灾等室内异常情况进行自动判别。其智能性主要体现在:系统软件能够对环境状态进行自学,从而能适应背景环境的变化;对于临界状态,能够自动启动状态跟踪监控,通过多幅图片获得准确的判断结果。以背景差分法和帧间差分法为基础,采用了动静阈值结合法。整个目标的检测过程主要包括:图像预处理;量化函数运动检测(或小目标运动跟踪检测) ; 异常情况判别及处理。
当系统接收到摄像机传送的新图像后,首先进行预处理和去噪,以得到可以量化物体运动或异常区域的二值图像;然后进行异常状态分析与判断。系统采用两种异常量化函数:基于全局的位图处理和抽查检测处理。然后,根据异常量化函数指标进行特定的后续操作。若需进入异常报警处理程序,则传送报警信号,发送MMS信息,并存储当前视频等;若需进入临界异常跟踪,则启动临界异常跟踪程序;否则进行背景更换判定并等待获取下一幅监控图像。
4 系统测试及实验数据分析
本系统采用运动目标检测算法,实现对监视对象的图像处理与异常判断,占背景面积8‰的小目标都能被系统识别。系统有效消除了因环境光线变化、背景微变、小目标渐进运动等因素引起的系统误判。采用本系统软、硬件进行入侵事件检测,其实验图片及检测效果如图5所示。

图5 入侵事件跟踪检测效果
为验证ZigBee通信在智能家居安全监控系统中的性能,测试了两组性能指标:
①无障碍状态下,随着距离的增加,数据丢包率、接收功率和自由空间衰减的变化情况;
②数据传输距离为30 m时,随着障碍物增加而产生的丢包率;实验数据分别如表1、表2所示。
接收功率根据CC2430芯片内建的RSSI (接收信号强度指示) 测得, RSSI的值存放在寄存器RSSIL.
RSSI_VAL中,其与接收功率的对应关系如下:
P =RSSI_VAL +RSSI_OFFSET[ dBm ].
其中, RSSI_OFFSET是经验取值,约为- 45 dB.

表1 无障碍物时的测试数据

表2 存在障碍时的30 m距离测试数据
实验结果表明,在无障碍物传输距离为80 m以内时,传输数据的丢包率低于1%,能够充分满足正常家居环境的通信需要,而且接收功率很低,非常适合家庭的使用; ZigBee模块之间通信传输距离为30 m时,穿过2堵水泥墙的丢包率仅为1%,穿过1堵水泥墙时丢包率为0% ,完全能够满足系统设计的要求。
5 结束语
本研究提出并设计完成一种基于ZigBee的智能家居安全监控系统,分别从系统功能介绍、硬件设计、软件设计、实验数据分析等方面分析了ZigBee技术在该系统中的应用。将ZigBee技术应用于智能家居中,实现了快速率、低成本、低功耗的无线网络通信。通过将传统传感器报警系统和图像监控系统相结合,形成了新型的智能安防系统。用户可以通过手机或PC机接收MMS信息,根据需要进行远程手机设定,从而实现灵活、便捷的家庭安全监控。
