引言
在医学检验中,体内多类激素水平及其微量代谢产物、药物及代谢产物、维生素类及疾病相关抗原的分析测定总计可达几十至上百种之多。但由于其检测灵敏度要求较高,一般免疫技术难以达到。因此,长期以来一直沿用放射免疫法。它不仅对操作人员的健康造成了危害,而且其废弃物对环境也有严重的污染。因此需要特殊的防护及废物处理系统,同时由于受到自然衰变的限制,其试剂不便长期储存和运输,因而大大地限制了它的发展。EIA 技术稳定,试剂价格合理,酶免技术在中国市场处于成长期,开发一种应用酶免技术用于临床检测的仪器很有必要。
AD1674的性能特点、内部结构、工作时序
AD1674是美国AD公司推出的一种完整的12位并行模/数转换单片集成电路。该芯片内部自带采样保持器(SHA)、10伏基准电压源、时钟源以及可和微处理器总线直接接口的暂存/三态输出缓冲器。
AD1674的基本特点和参数如下:
带有内部采样保持的完全12位逐次逼近(SAR)型模/数转换器;采样频率为100kHz;转换时间为10μs;具有±1/2LSB的积分非线性(INL)以及12位无漏码的差分非线性(DNL);满量程校准误差为0.125%;内有+10V基准电源,也可使用外部基准源;四种单极或双极电压输入范围分别为±5V,±10V,0V~10V和0V~20V;数据可并行输出,采用8/12位可选微处理器总线接口;内部带有防静电保护装置(ESD),放电耐压值可达4000V;采用双电源供电:模拟部分为±12V/±15V,数字部分为+5V。
内部结构
图1所示为AD1674的内部结构框图,AD1674的引脚按功能可分为逻辑控制端口、并行数据输出端口、模拟信号输入端口和电源端口四种类型。

工作时序
AD1674的工作模式可分为全控(Full-Control)模式和独立(Stand-Alone)模式,独立模式主要用于具有专门输入端系统,因而不需要有全总线的接口能力。而采用全控工作模式则有利于和CPU进行总线连接。
光子计数仪设计
总体方案设计
基于仪器整体安装及可维护性的考虑,仪器采用整体形式。包括对仪器的控制,键盘操作及显示,仪器的传动部分及硅光电池检测部分。采用96微孔板作为测量载体;为增强测量的定位准确度,运行的平稳性,光电检测系统以固定方式检测样品,送样机构可按要求进行Y方向及X方向顺序运动。采用可视性强的液晶显示器,可显示仪器当前所处状态及每孔测量结果。定义20种可选择的测量时间,可对微孔板的任意行数定义测量,数据输出采用外接打印机。原始数据可在主机独立测量完毕后由打印机输出。计算机控制测量可完全替代单机测量的功能,同时可在WINDOWS的操作软件包下进行样品区、标准区、阴阳性孔位定义、测量及数据处理。
组件构思
采用日产硅光电池作为酶标仪检测装置的核心部分。传动系统采用国际流行、运行平稳、定位准确的齿杠、齿轮传动与同步带、齿轮传动相结合的形式,送样器(孔板托盘)、光电检测装置在开机后及测量完毕均定位在初始位置;送样器及光电检测装置的传采用日产硅光电池作为酶标仪检测装置的核心部分。传动系统采用国际流行、运行平稳、定位准确的齿杠、齿轮传动与同步带、齿轮传动相结合的形式,送样器(孔板托盘)、光电检测装置在开机后及测量完毕均定位在初始位置;送样器及光电检测装置的传动系统采取互相垂直的独立运动机构;采用MGL(S)24064带背景光绿色显示屏的显示器; 89C55单片微机控制;外接中文打印机,和微机通过RS232通讯。 计算机数据处理软件包,控制功能完全可在计算机上完成。具体电路原理框图如图2。

测量原理
光是电磁波,波长100nm~400nm称为紫外光, 400nm~780nm之间的光可被人眼观察到,大于780nm称为红外光。人们之所以能够看到色彩,是因为光照射到物体上被物体反射回来。绿色植物之所以是绿色,是因为植物吸收了光中的红色光谱。酶标仪测定的原理是在特定波长下,检测被测物的吸光值。
检测单位:
光通过被检测物,前后的能量差异即是被检测物吸收掉的能量,特定波长下,同一种被检测物的浓度与被吸收的能量成定量关系。
检测单位用OD值表示, OD是optical density(光密度)的缩写,表示被检测物吸收掉的光密度, OD=1og(1/trans),其中trans为检测物的透光值。根据Bouger-amberT-beer法则,OD值与光强度成下述关系:
E=OD=logΙ0/Ι
其中E表示被吸收的光密度, Ι0 为在检测物之前的光强度,Ι为从被检测物出来的光强度。
OD值由下述公式计算:
E=OD=C×D×E
C为检测物的浓度
D为检测物的厚度
E为摩尔因子
在特定波长下测定每一种物质都有其特定的波长,在此波长下,此物质能够吸收最多的光能量。如果选择其它的波长段,就会造成检测结果的不准确。因此,在测定检测物时,我们选择特定的波长进行检测,称为测量波长。

但是每一种物质对光能量还存在一定的非特异性吸收,为了消除这种非特异性吸收,我们再选取一个参照波长,以消除这个不准确性。在参照波长下,检测物光的吸收最小。检测波长和参照波长的吸光值之差可以消除非特异性吸收。
Anthos 酶标仪检测值计算
仪器中的检测器接收透过被检测物的光能量,转换成二进位数字信号,最大为4095。仪器定义没有光源下的透光值为 0%,没有检测物的透光值为100%。则实际检测中,检测物的透光值均在 0%~100%之间。透光值的计算如下:
T=(Meas—Min)/(Max—Min)
其中T为透光值, Meas为检测的二进位数值, Min为在 0%的情况下检测的二进位数值, Max为在100%的情况下检测的二进位数值,举例如下:
Max=3600
Min=20 Meas=30
T=(30-20)/(3600-20)=0.0028
OD=1og(1/T)=1og(1/0.0028)=2.552
软件设计
设置软件陷阱
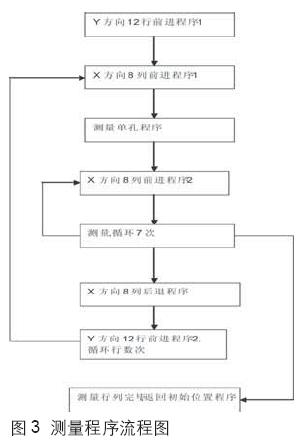
当程序进入到非程序区,只要在非程序区设置拦截措施,使程序进入陷阱,然后强迫程序回到初始状态。如对CPU的RST指令对应的字节码为0FFH,如果不用的程序存储区预先写入0FFH,则当程序因干扰而“飞”到该区域执行代码时,就相当于执行1条RST指令,从而达到系统复位的目的。96孔测量程序流程如图(3)。
结语
整机无论从结构到电器性能都达到了设计要求,采用的原理科学,技术及关键器件先进。通过一段时间的使用,从各用户中反馈的信息都很满意。该样机从主机到应用软件符合国际设计潮流及临床操作要求。
参考文献:
1. 朱根娣,临床常用检验仪器——原理.结构.维护,上海科学技术文献出版社,2002
2. 美国Anglog Devices公司的AD1674 datasheet
3. 哈尔滨思创生物酶标仪使用说明书
4. 梁立森,CF-ZS系列板式酶标仪在市场竞争中发展,航天技术与民品1998年第1期
