荣获:第二届深港技术创新大赛&航盛杯汽车电子应用方案大赛 二等奖
陶显芳 2010-12-1
一、获奖感言
他与商店中柜台上摆放的商品相比,他的样子显得很丑陋;但他与肖克利发明的晶体管相比,并不显得逊色。他现在还不是一个产品,他只代表一种新的技术正在诞生;也许将来,他也会与肖克利发明的晶体管一样进入历史的博物馆。他的诞生,不是要给人们展示自己的美丽和漂亮,而是要给人类造福。本发明的《汽车尾气电子处理装置》技术,将使人们摆脱,一直以来忍受汽车尾气污染空气之苦。



二、一个人类紧迫需要解决的问题
截止到2010 年3 月,全国机动车保有量约1.92 亿辆,其中,汽车7000 多万辆,并且继续保持较快增长势头,估计到2010 年年底超过7500 万辆,年平均递增17%。在汽车数量强劲增长的同时,中国的汽油年消耗量也达到5500 万吨,汽油在汽车发动机中燃烧以后,大部份物质都被转化成有毒气体向空中排放,使空气污染越来越严重。
汽车尾气污染物主要包括:一氧化碳、碳氢化合物、氮氧化合物、二氧化硫、烟尘微粒(某些重金属化合物、铅化合物、黑烟及油雾)、臭气(甲醛等)。目前,汽车尾气已经成为城市空气污染的“元凶”,在一些城市中,汽车尾气污染已经占空气污染源的80%。由于汽车尾气污染,很多城市,已经令人感到难以忍受的地步,人们已经看不到蓝天,浑浊的空气使大白天的能见度不到200 米,不但交通事故增加,还会使人们精神压抑,呼吸困难,增生各种疾病,严重影响人们的身体健康。
为了人类的健康,解决汽车尾气污染问题——即汽车尾气净化处理问题,已经成为人类紧迫需要解决的问题。
本人参加航盛杯汽车电子应用方案大赛的目的,就是想向所有关心汽车尾气污染问题的人们展示自己的一种技术设想——一种能够实现汽车尾气净化处理的技术方案,或一种汽车尾气净化装置。
三、一种汽车尾气电子净化装置
目前,汽车尾气净化装置有多种形式,如:现在普遍使用的三元催化剂净化器,还有多元催化剂净化器,以及,臭氧净化器,臭氧加水气净化器,臭氧加催化剂净化器。
但这些现有技术各有欠缺,三元催化剂净化器以及多元催化剂式净化器,虽然对碳氢化合物及一氧化碳和氮氧化物的吸收起到一定的作用,但对其它烟尘微粒吸收作用甚微,而且催化剂的使用寿命一般很短,需要经常更换,成本高;还有,催化剂一般都含有稀有重金属,活性重金属对人体是有毒的,因此,对催化剂使用过后有毒物质的回收也是个麻烦事情。臭氧加水气净化器结构复杂,且笨重,还需经常更换水,成本高,使用不方便。臭氧加催化剂净化器与三元催化剂净化器在技术性能方面,并没有明显增加,但成本增加了不少,同样存在很多缺点。
针对目前汽车尾气净化装置的缺点,本发明的一种汽车尾气电子净化装置,不但避免了很多上述汽车尾气净化装置在技术方面的不足之处,并使汽车尾气净化处理能力进一步加强。
本发明的一种汽车尾气净化装置(专利申请号:201010261026.3),是一种利用高压静电对汽车尾气(废气)中的烟尘微粒进行电离、充电,然后再通过强电场对带电烟尘微粒进行吸引收集的汽车尾气电子净化装置。由于电场力能够穿透物质的原子结构,强电场可以使分子电离或极化带电,从而破坏物质的分子结构,使汽车排放废气中的有害气体物质的分子结构或混合物被肢离破解,使之转化成非有毒物质。
利用这种汽车尾气电子净化装置,能非常有效地对汽车排放废气中的有害气体及烟尘微粒进行吸引收集,还可以使废气中一氧化碳转化成二氧化碳,然后再把二氧化碳分解为氧气和碳素物质,使汽车废气中的有害烟尘微粒牢牢地被吸附、固化在汽车尾气电子净化装置中的烟尘收集板上,然后待烟尘收集板上收集的有害烟尘废物被积累到一定厚度之后,在强电场力的作用下通过极间打火,使已被固化在烟尘收集板上的有害烟尘废物脱落并被排出,从而减少废气污染净化环境,有益于人类健康。
烟尘收集板的工作原理与电絮凝或电镀的工作原理非常相似,只不过电絮凝或电镀槽中两个电极之间的电介质是电解液,而烟尘收集板之间的电介质是带电的废气微粒,在强电场的作用下,带电的废气微粒与电解液一样,同样会导电,只是两者的电导率和电位梯度差别比较大。当电解液中有电流通过的时候,带正电的电解质就会向负极板跑,而带负电的电解质就会向正极板跑,因此,电絮凝或电镀就是一种电离子沉积的过程,利用电极通过电流,使金属附着在物体表面上。
根据这个原理,在烟尘收集板中,带电烟尘物质在强电场的作用下,废气烟尘微粒将很容易被沉积、附着在带电的烟尘收集板表面上。因此,这种汽车尾气电子净化装置与其它汽车尾气净化器相比,不但结构简单而且对汽车尾气净化处理非常有效。
本发明的一种汽车尾气电子净化装置主要由一个条栅结构或网格结构带高压正电的阳极极板、一组相互绝缘并分别带高压正电和负电的烟尘收集板、以及高压电源等三部份组成;条栅结构或网格结构带高压正电的阳极极板安装在烟尘收集板的前面,并与烟尘收集板用绝缘材料固定于一个壳体中,烟尘收集板中的阳极极板与阴极极板之间也用绝缘材料进行隔离,并固定于同一个壳体之中;高压电源有两组高压电输出,一组用于条栅结构或网格结构的阳极极板,另一组用于烟尘收集板,两组高压电输出的负极都连接在一起,并与烟尘收集板中的阴极极板连接;条栅结构或网格结构带高压正电的阳极极板称为第一高压阳极极板,与它连接的高压电源的一组高压电的正极称为第一高压阳极,烟尘收集板中的阳极极板称为第二高压阳极极板,与它连接的高压电源的另一组高压电的正极称为第二高压阳极。
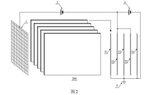
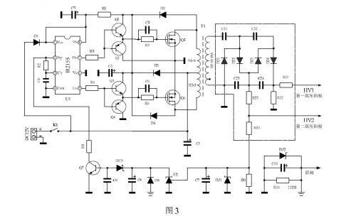
图1、图2、图3 分别是一种汽车尾气电子净化装置的案结构图、电气连接图、高压开关电源电原理图。图1、2、3 中,“1”是第一高压阳极极板,它与图3 直流开关高压电源中的第一高压阳极(HV1)连接,并与其它部件绝缘。“200”是烟尘收集板组件,它由多个阴极极板与多个阳极极板组成,“21”是烟尘收集板组件中的阴极极板,它与图3 直流开关高压电源中的阴极连接,“22”是烟尘收集板组件中的阳极极板,也称为第二高压阳极极板,它与图3 直流开关高压电源中的第二高压阳极(HV2)连接。
当汽车排气管有废气排出时,由于废气原来基本上都是不带电的,即为“0”电位,不带电的废气在压力差的驱动下,首先要从第一高压阳极极板的网格中间经过,第一高压阳极极板是一个带正电的极板,在它的周围存在非常强的电场,当物体靠近它时就会产生电晕放电,此时,物体会向阳极极板发射电子,使物体带正电,特别是在高温环境下,物体发射电子的逸出功相对常温条件下要小很多,使物体向第一高压阳极极板发射电子的能力大大加强。一些不容易发射电子的物体,在强电场力的作用下,也会产生极化带电,即物体中的电荷也要进行重新分布,使物体靠近第一高压阳极极板的一端带负电,另一端带正电。



氧气在强电场中很容易被极化带电或电离带电,氧气经发射电子之后就会带正电(变成O+2 ),带正电的氧气很容易与极化带电的氧气重新组合产成臭氧(O3),而臭氧又很容易与一氧化碳(CO)组合生成二氧化碳(CO2),使之变成无毒气体。
带电气体或带电废气微粒从烟尘收集板中经过的时候,由于在烟尘收集板的阳极极板与阴极极板之间存在很强的电场,使带正电的气体或带正电的废气微粒很容易被阴极极板吸引,带负电的气体或带负电的废气微粒将也很容易被阳极极板吸引,从而使烟尘收集板的阳极极板和阴极极板都被涂上一层由汽车尾气排放物生成的一种粘性物质。
当这种被收集的粘性物质在烟尘收集板上积累到一定厚度的时候,阳极极板和阴极极板之间就会发生打火放电,强大的瞬间电流会把收集在阳极极板上和阴极极板上的物体起火膨胀脱落,并发出啪啪的放电声。因为,阳极极板和阴极极板之间存在一个数千P 的分布电容,充满电的电容在放电时会产生很大的电流,电流会使放电气体产生爆炸,并发出啪啪声。
四、汽车尾气电子净化装置高压电源工作原理
图3 是直流开关高压电源的工作原理图,其输入电压为12V(也可以为24 伏),因为汽车一般都是采用12V 储电池供电。直流开关高压电源是一个推挽式开关电源,因为在低压开关电源中,推挽式开关电源的工作效率最高。
另外,图3 中的推挽式开关电源与一般的推挽式开关电源还有一些区别,就是这里的两个推挽管在交替工作的时候,交替时间不等于零,而是要延时(或错开)一定的时间(两个推挽管工作时的占空比大约只有48%)。目的是为了防止两个推挽管在交替工作的瞬间,在前一个管还没有完全关断的时候,后一个管就开始导通,使两个管的导通和关闭时间互相重叠,增大开关管的损耗,降低直流高压开关电源的工作效率。
图3 中选用IR2155 作为驱动电路。IR2155 普遍用于节能灯中作为半桥式开关管驱动电路,半桥式驱动与推挽式驱动在电路结构上区别比较大,所以图3 中把IR2155 原来用于半桥式开关驱动的电路做了较大的改动,把6 脚直接接地(原来接半桥输出),把8 脚直接接到电源(原来接自举电容)。
另外,IR2155 的正常工作电压为15.6V,但图3 中的输入电压仅为12V,显然这个电压不能使IR2155 的正常。为了提高IR2155 的工作电压,图3 中采用整流二极管D2、D4 对开关变压器T1 初级线圈产生的反电动势进行整流后,与12V电源叠加(变为24V)再通过电阻R1 对U1(IR2155)供电,以保证IR2155 的工作电压为15.6V。
在正常工作的情况下,图3 中的直流开关高压电源输出功率并不大(小于20W),但在烟尘收集板处于打火的情况下,其输出功率很大,可达100W 以上,由于两个推挽管Q5、Q6 的工作电压比较低,故工作电流比较大,因此Q5、Q6 必须选用漏极电流比较大的场效应管,或集电极电流比较大的IBGT 管。
IR2155 的输出功率很小,不能用它直接驱动推挽管Q5、Q6 工作,特别是Q5、Q6 工作于低电压、大电流的情况下,必须对IR2155 的输出信号进行放大,图3 中采用两组推拉式跟随放大电路(Q1、Q2 和Q3、Q4)分别对IR2155 的两组输出信号进行放大,以保证给两个推挽管Q5、Q6 在开通和关断瞬间提供足够的驱动电流,以减少Q5、Q6 导通和关断时产生的开关损耗。C5、R5 和C6、R6 是微分电路,对加速Q5、Q6 的导通和关断时间有一定的作用。
C1 是储能滤波电容,但其主要作用是用于对开关变压器的磁芯进行退磁,在电源开关断开的瞬间,由于C1 存储的电荷可维持开关电源继续工作一段时间,使开关变压器初级线圈的工作电压慢慢下降,最后为零。这个过程,使每次关机都可保证,开关变压器铁芯的磁化曲线能够回到坐标的原点,即铁芯完全退磁,防止开关电源再次工作时,由于变压器铁芯带磁而出现磁饱和。如果没有C1 的作用,当电源开关断开时,开关变压器铁芯的磁化曲线将被停止在某一非零值的点上,下次开机时很容易出现变压器饱和,使两个推挽管过流烧坏。
D21、D22、D23、D24 和C21、C22、C23、C24 组成倍压整流电路,HV1的输出电压一般高于1 万伏,而HV2 的输出电压高于5 千伏。
U2 为电压比较器(TL431),其内部已经设定了一个基准比较电压(大约为2.5V),另一个输入比较电压由R24 与R9 分压取得,R9 为取样电阻。正常工作时,由于R9 的取样输出电压比较高,即U2 的输入电压比较高,所以U2 处于导通状态,即U2 的输出电压为2.5V。U2 的作用主要是用来控制另外一个电压比较器Q7 的导通或关断,正常工作时,由于加到稳压二极管DZ3 的电压(2.5V)低于击穿电压,Q7 处于关断状态。
U2 的输出电压或Q7 的输入电压由二极管D5 输入,而D5 的输入信号则通过取样电阻R10 取得。由于R10 的一端与烟尘收集板的阴极极板连接,因此流过阴极极板的电流也将全部流过R10,由此在R10 上会产生一个电压降,这个电压就是取样电阻R10 的取样电压,或称取样输出电压。正常工作时R10 的取样电压是很小的,再加上U2 导通,R10 的取样电压经过D5 后被U2 旁路(被嵌位于2.5V 上),因此,R10 的取样电压无法使稳压二极管DZ3 导通,此时,Q7 是截止的。
当烟尘收集板之间出现打火的时后,由于输出电流突然变大,首先是HV2 高压输出电压要降低,因为R23 产生的电压降会增大,从而使HV2 高压输出电压降低,由此取样电阻R9 输出的取样电压也要降低,R9 输出的取样电压经C7 积分延时之后,会使U2 由导通变为截止,其输出电压大于2.5V。此时,R10 的取样电压经过D5,再经过积分电路C8、R7、C9 进行积分,使取样信号的相位被延时,延时后的取样信号经稳压二极管DZ3,最后被加到Q7 的输入端,使Q7 导通。
Q7 导通后,通过R8 使U1 的锯齿波振荡器输出信号被旁路,U1 停止工作,无驱动信号输出,使两个推挽管Q5、Q6 也停止工作,致使开关电源无高电压输出。待积分电路中的C8、C9 完全放完电以后,Q7 又会回复到之前的截止状态,此后,直流开关电源又开始正常工作。因此,烟尘收集板之间出现打火是间歇性的,每打火一次,直流开关电源就要被关断一次,以此保护直流开关电源工作的安全。
另外,打火保护的门限也是可以改变的,改变取样电阻R9 和R10 的大小就可以改变打火保护的门限。有些小的打火,只要其损耗功率不会超过直流高压开关电源的最大输出功率,直流高压开关电源就不需要保护,这样反而可以提高汽车尾气电子净化装置的工作效率。因此,打火保护的门限和连续打火时间的长短,可根据使用效果来决定。
打火时间的长短主要由积分电路中的C7 和C8、R7、C9 的时间常数以及C10的时间常数来确定,时间常数越大打火的时间就越长,同时间歇的时间也越长。同原来上来说,U2 和Q7 都属于取样放大电路,U2 属于电源输出电压取样,Q7 属于电源输出电流取样,但两个取样放大电路的输入信号的相位都要被延时,在延时作用上相当于两个延时时间串联,但积分电路放电的时候,在时间上并不是串联,这样,就可以分别调整积分电路的充、放电时间,使打火持续时间尽量长一些,而恢复时间尽量短一些,以提高工作效率。
DZ1 为取样电阻R9 输出电压的限幅二极管,当取样输出电压超过某一电压值时,限幅二极管DZ1 就导通,避免U2 因输入电压过高而损坏。DZ2 也是限幅二极管,当R10 的取样输出电压超过稳压二极管的稳压值时,DZ2 就导通,避免U2 因工作电压过高而损坏。
图3 电路也可以采用24V 直流电源供电,但电路需要有些改动:把二极管D1换成一个电阻,电阻R1 和二极管D2、D4 去掉,二极管D3 短路,并且开关变压器初级线圈的匝数也要增加。
本发明的汽车尾气电子净化装置,估计成本在100 元~200 元之间。我相信这种汽车尾气电子净化装置将来会拥有非常广阔的市场。
