您的位置:电子技术应用
电路图频道
通信电路
遥控电路
点击查看基础电子测试测量培训视频
何为现代数字城市?
电子技术应用新基建专题
点击进入忆阻器测试专题
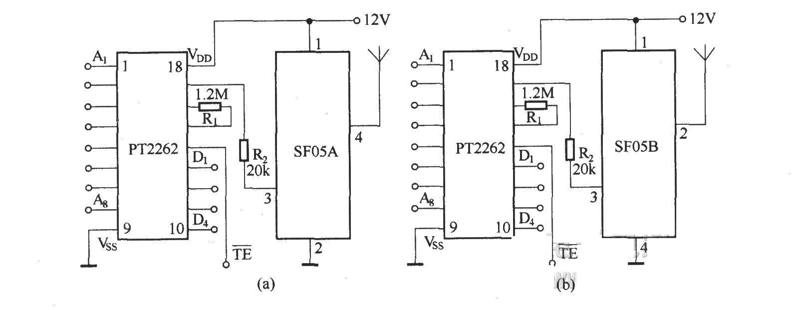
SF05A/B组成的发射电路
2016-07-05 15:37
关键词:
天线
发射电路
SF05A/B可与接收组件SJ05B,SJ04E,SJ04H配套使用.发射电路的发射效果与工作电压及发射天线及R2有关.
进入订阅《电子技术应用》杂志
新型储能技术专题
北斗导航系统的应用前景和案例展示
点击了解订《电子技术应用》杂志送开发板活动
相关内容
EMV 2025:罗德与施瓦茨推出新型天线
5G毫米波天线设计需要权衡取舍
攻克复杂性障碍:下一代 SOI 天线调谐
中国移动 2023 高铁和特殊场景天线集采:华为、中兴、中信科等 8 家中标
电磁兼容三要素及产品电路中的天线
立式设计的小米路由器AX3000,还是隐藏天线
前沿追踪:毫米波天线阵列的高效馈电;宽带精确电磁谐波幅相调控与256 QAM毫米波无线通信
电磁干扰影响天线接收灵敏度案例分析
天线相关电路图
更多 >>
SF05A/B组成的发射电路
爱史牌S903型天线放大器
上传电路图
电路图分类
基础电路
模拟电路
数字电路
接口电路
线性放大
555电路
信号产生
电源电路
稳压电路
开关电源
电池电源
综合电源
传感器电路
温度湿度压力
速度角度位移
气体传感器
液体传感器
物理|光学
消费电子电路
手机电路
电脑电路
消费产品
通信电路
电话电路
遥控电路
无线通信
卫星通信
家用电器电路
厨房电器
房间电器
空调冰箱
电子钟表
音视频电路
音频电路
视频电路
游戏娱乐
控制电路
开关控制
定时控制
保护电路
综合控制
微机单片机电路
光电应用电路
新潮电子电路
电机控制电路
检测测量电路
医疗电子电路
安防电子电路
交通工具电路
工业自动化电路
PLC电路
电力电工电路
特殊应用电路
电子维修
其他行业电路
Copyright © 2005-
2024
华北计算机系统工程研究所版权所有
京ICP备10017138号-2
map