您的位置:电子技术应用
电路图频道
家用电器电路
房间电器
北斗导航系统的应用前景和案例展示
欢迎查看AET商业航天专题
《电子技术应用》特约专栏征稿
《电子技术应用》全年合订本-电子版
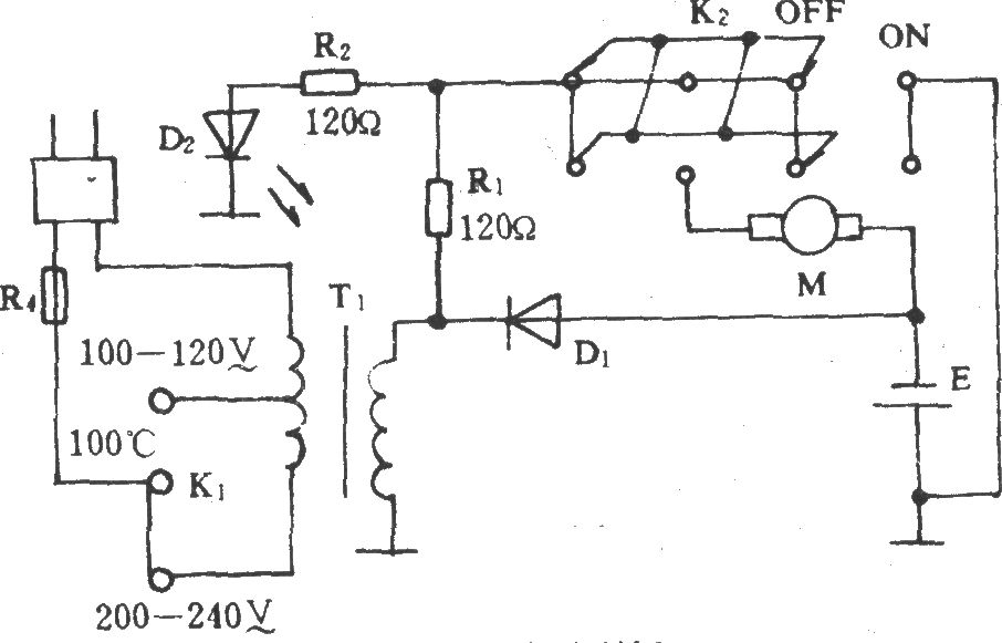
日立RM-1900电动剃须刀
2016-07-05 15:37
关键词:
剃须刀
电路
日立
日立RM-1900电动剃须刀
AET陪你走进工业以太网
什么是数字化转型?
点击了解国有企业数字化转型专题
欢迎查看AET-ChatGPT专题
相关内容
电动剃须刀单片机方案,使用sop8封装XL32F003单片机
须眉灵动3系剃须刀体验:229元买三刀头超值
屡登质量黑榜 小家电的短板岂止产品不合格?
飞科电器上半年净利增5.06% 二季度回归高增长
剃须刀相关电路图
更多 >>
剃须刀充电器电路
松下剃须刀充电电路
剃须刀用充电器电路图
日立RM-1900电动剃须刀
SV-M300U电动剃须刀电路图
超人RSCX-8充电式电动剃须刀电
上传电路图
电路图分类
基础电路
模拟电路
数字电路
接口电路
线性放大
555电路
信号产生
电源电路
稳压电路
开关电源
电池电源
综合电源
传感器电路
温度湿度压力
速度角度位移
气体传感器
液体传感器
物理|光学
消费电子电路
手机电路
电脑电路
消费产品
通信电路
电话电路
遥控电路
无线通信
卫星通信
家用电器电路
厨房电器
房间电器
空调冰箱
电子钟表
音视频电路
音频电路
视频电路
游戏娱乐
控制电路
开关控制
定时控制
保护电路
综合控制
微机单片机电路
光电应用电路
新潮电子电路
电机控制电路
检测测量电路
医疗电子电路
安防电子电路
交通工具电路
工业自动化电路
PLC电路
电力电工电路
特殊应用电路
电子维修
其他行业电路
Copyright © 2005-
2024
华北计算机系统工程研究所版权所有
京ICP备10017138号-2
map